政府信息公开

旺苍县防汛抗旱指挥部关于印发《旺苍县防汛抗旱应急预案(2025年修订)》的通知

发布机构:县应急管理局 发布时间: 2025-07-21 16:31 字体: [ ]

图片解读:旺苍县防汛抗旱指挥部关于印发《旺苍县防汛抗旱应急预案(2025年修订)》的通知

旺防指汛发〔2025〕17号


旺苍县防汛抗旱指挥部

关于印发《旺苍县防汛抗旱应急预案(2025年修订)》的通知


各乡镇党委和政府,县防汛抗旱指挥部各成员单位,旺苍经济开发区管理委员会:

经县防汛抗旱指挥部领导同意,现将《旺苍县防汛抗旱应急预案(2025年修订)》印发给你们,请认真贯彻落实。


旺苍县防汛抗旱指挥部   

2025年7月16日    



旺苍县防汛抗旱应急预案(2025年修订)

目    录


1  总则..............................................5
1.1  指导思想.....................................5
1.2  编制依据.....................................5
1.3  适用范围.....................................6
1.4  工作原则.....................................6
1.5  工作机制.....................................7
1.6  应急响应分级..............................8
2  组织指挥体系及职责.......................8
2.1  组织指挥体系..............................8
2.2  工作职责....................................10
2.3  专项工作组.................................20
3  预防和监测预警.............................23
3.1  预防...........................................23
3.2  监测预报预警..............................30
3.3  预警行动.....................................41
3.4  预警支持.....................................43
4  应急响应........................................44
4.1  总体要求 ....................................44
4.2  启动、终止条件及响应行动...........47
4.3  不同灾害的应急响应措施..............54
4.4  信息报送和发布...........................61
4.5  舆论引导.....................................63
5  应急保障........................................63
5.1  通信与信息保障...........................63
5.2  应急装备保障..............................63
5.3  应急抢险队伍保障........................64
5.4  供电保障.....................................64
5.5  交通运输保障..............................64
5.6  医疗卫生保障..............................64
5.7  治安保障.....................................64
5.8  物资保障.....................................65
5.9  资金保障.....................................65
5.10 技术保障....................................65
6  后期处置........................................66
6.1  物资补充和工程修复.....................66
6.2  调查评估.....................................66
6.3  奖励...........................................67
6.4  约谈整改.....................................67
6.5  责任追究.....................................67
7  附则..............................................67
7.1  预案演练.....................................67
7.1  预案演练.....................................67
7.2  预案管理与更新...........................67
7.3  名词术语定义..............................68
7.4  预案解释.....................................70
7.5  预案实施时间..............................70


1  总  则

1.1  指导思想

以习近平新时代中国特色社会主义思想为指导,深入贯彻落实习近平总书记关于防灾减灾救灾重要论述和“两个坚持、三个转变”防灾减灾救灾理念,坚持人民至上、生命至上,围绕服务和融入新发展格局、推动高质量发展,始终把保障人民群众生命财产安全放在第一位,统筹发展和安全,坚持安全第一、预防为主,推进防汛抗旱体系和能力现代化建设,依法高效有序做好水旱灾害突发事件防范与处置工作,最大限度减少人员伤亡和财产损失,维护社会大局稳定。

1.2  编制依据

依据《中华人民共和国水法》《中华人民共和国防洪法》《中华人民共和国突发事件应对法》《中华人民共和国防汛条例》《中华人民共和国抗旱条例》《突发事件应急预案管理办法》《国家防汛抗旱应急预案》《四川省〈中华人民共和国防洪法〉实施办法》《四川省〈中华人民共和国抗旱条例〉实施办法》《四川省防灾避险人员安全转移若干规定》《中共四川省委办公厅 四川省人民政府办公厅关于进一步提升基层应急管理能力的实施意见》等法律法规以及《四川省防汛抗旱应急预案(2025年度修订)》《四川省防汛抗旱指挥部办公室工作规则》《中共广元市委办公室 广元市人民政府办公室关于印发〈全力做好防汛减灾安全工作二十二条措施〉的紧急通知》(广委办函〔2022〕50号)、《广元市安全生产委员会关于调整设立安全(生产)专业委员会和自然灾害专项指挥部的通知》(广安委〔2024〕38号)、《旺苍县突发事件总体应急预案(试行)》(旺府发〔2021〕10号)、《旺苍县人民政府办公室关于调整防汛抗旱工作体制机制的通知》(旺府办函〔2021〕34号)等文件要求,结合我县实际,制定本预案。

1.3  适用范围

本预案适用于全县范围内突发性水旱灾害的预防和应急处置。突发性水旱灾害包括:江河洪水、渍涝灾害、山洪泥石流灾害、干旱灾害、供水危机及由洪水、地震、地灾、恐怖活动等引发的水库水电站垮坝、堤防渠道决口、水闸倒塌、河道壅塞、堰塞湖等次生衍生灾害。

1.4  工作原则

防汛抗旱工作在党的领导下,实行各级政府行政首长负责制,坚持以下原则:

——两个坚持、三个转变。坚持以防为主、“防抗救”相结合,坚持常态减灾和非常态救灾相统一,努力实现从注重灾后救助向注重灾前预防转变,从应对单一灾种向综合减灾转变,从减少灾害损失向减轻灾害风险转变。

——统一领导、分级负责。各级各有关部门(单位)要落实“党政同责、一岗双责、齐抓共管、失职追责”要求,坚持分级负责、属地为主、层级响应、协调联动,县级重在督查督导、乡镇重在一线、村(社区)重在末端执行,做好防灾减灾救灾工作。相关部门(单位)依照本预案确定的任务,尽职尽责、密切协作、快速反应、形成合力、积极应对。

——预防为主、综合施策。坚持工程与非工程措施相结合,完善防洪抗旱工程体系,突出水旱隐患排查整治,加强预案管理、物资保障和队伍建设,强化监测会商与分析研判,健全预报预警发布机制,针对性开展演练,实现预报、预警、预演、预案的全链条融合。

——科学处置、安全第一。险灾情发生后,坚持科学指挥决策,迅速组织专业队伍,及时开展险灾情处置,严防次生灾害发生。处置过程中始终将抢险救援人员和群众的生命安全放在首位,及时转移受威胁人员。

——以专为主、专群结合。加强防汛抗旱专业化队伍建设,积极运用新技术、新手段、新方法,将科学研判、快速处置、精准管控等要求贯穿“防抗救”各环节,不断提升防汛抗旱专业化水平。加强防汛抗旱宣传培训,健全群测群防体系,增强干部群众辨灾识灾、转移避险、自救互救的意识和实战能力。

1.5  工作机制

建立健全防汛抗旱责任落实“三单一书”、责任督促“两书一函”“四不两直”等工作机制,推动建立跨区域、跨流域、跨部门防汛抗旱减灾联防联控工作机制、山洪地质灾害危险区预警信息“30123”叫应机制、气象预警与应急响应联动机制,东河等河流上游防汛联动工作机制及水文信息共享机制等工作机制,推动落实防汛减灾包保责任;制定工作规则,厘清各相关部门(单位)上下层级间、部门(单位)间的工作关系,构建分工明确、责任清晰、配合紧密的职责体系,形成统一指挥、高效协同、无缝衔接的“防抗救”一体化格局,以更高标准、更严要求、更快反应、更好效果做好防汛抗旱工作。

县防汛抗旱指挥部办公室(以下简称县防办)、县地质灾害防治指挥部办公室建立汛期联合值守工作机制,共同开展汛期值班值守、会商研判、预警发布、指挥调度、督责问效等工作。

1.6  应急响应分级

根据预警、汛情、险情、灾情的影响程度、范围和发展趋势,县级防汛抗旱应急响应由高到低分为一、二、三、四级。

2  组织指挥体系及职责

严格落实县、乡镇党委政府防汛抗旱救灾主体责任,坚持党政同责、一岗双责,建立健全统一权威高效的组织指挥体系,全面提升防汛抗旱能力。

2.1  组织指挥体系

旺苍县防汛抗旱组织指挥体系图(见附件1)。

2.1.1  县防汛抗旱指挥部

旺苍县防汛抗旱指挥部(以下简称县防指)是县防灾减灾救灾委员会下设的专项指挥部,在县委、县政府和县防灾减灾救灾委员会领导下负责组织、协调、指导全县防汛抗旱工作。

县防指由县委分工负责水利的县委常委和县政府负责水利工作的副县长共同担任指挥长,由负责水利工作的副县长负责日常工作。县人武部部长、县委办、县政府办主任、县水利局局长、县应急管理局局长担任副指挥长。

县水利局、县应急管理局、县人武部、县委宣传部、县发展和改革局、县经济信息化和科学技术局、县教育局、县公安局、县民政局、县财政局、县自然资源局、广元市旺苍生态环境局、县住房和城乡建设局、县交通运输局、县农业农村局、县商务和经济合作局、县文化广播电视体育和旅游局、县卫生健康局、县国有资产事务中心、县国防动员事务中心、县林业局、县气象局、成铁广元车务段旺苍车站、旺苍水文测报中心、县红十字会、县疾病预防控制局、武警旺苍中队、县消防救援大队、铁塔旺苍分公司、国网旺苍县供电公司、电信旺苍分公司、移动旺苍分公司、联通旺苍分公司等为成员单位,相关负责同志为县防指成员。

县防汛抗旱指挥部办公室(以下简称县防办)设在县水利局和县应急管理局。办公室主任由县水利局、县应急管理局主要负责同志兼任,办公室常务副主任由县水利局分管负责同志兼任,副主任由县应急管理局、县自然资源局、县住房和城乡建设局、县气象局分管负责同志兼任。

2.1.2  乡镇、村(社区)防汛抗旱组织

各乡镇设防汛抗旱指挥部,由党委、政府主要负责人共同担任指挥长,为本地防汛减灾安全工作第一责任人。应急极端状态下,党委、政府主要负责人实行双线指挥,一方靠前指挥,一方坐镇指挥中心,保证统筹调度和正常运转。明确与防汛抗旱工作任务相适应的工作人员,在上级防指和党委、政府的领导下,负责本区域防汛抗旱工作。

各行政村、社区设防汛抗旱工作小组,由行政村、社区主要负责人担任防汛抗旱责任人,兼任山洪灾害防御责任人,在上级防指的领导下,负责本区域防汛抗旱工作。

2.1.3  其他防汛抗旱组织

有关水利工程管理单位、在建涉水工程建设单位、有防汛抗旱任务的规上企业、生产经营单位以及建筑施工单位,应组建专门机构,落实专门工作人员,负责本单位的防汛抗旱工作。

山洪灾害危险区要逐一落实行政责任人、监测巡查责任人、预警转移责任人,负责预警信息接收反馈、危险区监测巡查、受威胁人员转移避险等工作,并做好转移避险全过程安全管理。

针对重大突发事件,可以组建临时指挥机构,具体负责应急处置工作。

2.2  工作职责

2.2.1  全面压紧压实属地责任

乡镇党委、政府主要负责同志为本地区防汛减灾安全工作第一责任人。班子其他成员对职责范围内的防汛减灾工作负领导责任。分管自然资源工作的党政班子成员对地质灾害防范及应急处置工作负责;分管水利工作的党政班子成员对山洪等洪涝干旱灾害防治及应急处置工作负责;分管住建工作的党政班子成员对住建领域及自建房、燃气等安全工作负责;分管应急工作的党政班子成员负责防汛应急能力建设和启动二级以上应急响应的应急处置工作。

乡镇党委在汛期每月定期研究防汛减灾安全工作不少于2次。根据雨情、汛情、风情、地质灾害短临预报及时召开党委会议以及防汛、地质灾害等指挥部会议等,调度分析组织指挥防灾减灾安全工作。对涉及体制机制、重大政策措施、重要工作任务、重大和特大洪涝、干旱、地质灾害等方面事项,及时组织研究、推动落实。

2.2.2  全面压实部门防汛减灾责任

县防指成员单位要按照“三管三必须”和“谁主管、谁负责”“谁审批、谁负责”“谁靠近、谁负责”原则,把防汛减灾安全工作与本行业的业务工作同部署、同检查、同考核,定期研究会商防汛减灾安全工作,主汛期期间每月不少于1次。根据气象、雨情、汛情、地质灾害等短临预测预警预报情况,县自然资源局、县水利局、县应急管理局、县气象局、旺苍水文测报中心等部门以及防指等及时召开分析调度会议,部署督导相关应急处置工作。

2.2.3  建立防汛减灾安全党政领导“一对一”包保责任制

严格落实县级领导“一对一”包乡镇、乡镇党政领导“一对一”包村、村干部包组、党员干部包户的工作要求。暴雨蓝色及以上预警发布后,主降雨区有关乡镇“包保”责任人必须立即下沉包保乡镇、村(社区)一线靠前指挥,到具体点位督促指导。

2.2.4  全面压实基层一线执行责任

把防汛减灾安全责任体系延伸到最基层,严格执行“县级重在督查督导、乡镇重在一线、村(社区)重在末端执行”防汛安全工作机制。“村、组、点”一线责任人要切实承担起辖区内灾害监测预警和转移群众的责任,常态化组织基层群众开展群测群防、宣传教育,降雨期间要密切关注雨情、水情、汛情,及时、果断、科学组织受威胁群众转移避险。

2.2.5  县防指职责

县防指在县委、县政府和县防灾减灾救灾委员会领导下,负责组织、协调、监督、指导全县防汛抗旱工作。主要职责是:

(1)坚持以习近平新时代中国特色社会主义思想为指导,深入贯彻落实习近平总书记关于防灾减灾救灾和应急救援等重要论述精神,增强“四个意识”、坚定“四个自信”、做到“两个维护”,严格执行党中央、国务院和省委、省政府、市委、市政府以及国家防汛抗旱总指挥部(以下简称国家防总)、省防汛抗旱指挥部(以下简称省防指)、市防汛抗旱指挥部(以下简称市防指)关于防汛抗旱的方针政策和决策部署。

(2)贯彻落实县委、县政府关于防汛抗旱工作的决策部署,分析研判全县防汛抗旱形势,部署水旱灾害防御工作,加强灾害应对处置工作的全过程统筹并监督执行情况。

(3)督促指导工程治理和非工程措施建设;完善防汛抗旱体系,提升全县防灾减灾能力;督促指导做好思想、责任、措施落实等汛前准备工作;汛期组织会商研判,加强监测预警。

(4)督促指导防汛抗旱突发事件应对处置工作,适时启动防汛抗旱应急响应,科学调度水工程,及时处置险情、灾情;及时发布重大、特别重大、和影响较大的防汛抗旱相关信息。指导各乡镇对未达到响应级别的防汛抗旱突发事件开展处置工作。

(5)按照县防灾减灾救灾委员会的安排,负责组织指挥较大水旱灾害突发事件的应对处置工作。重大及以上水旱灾害突发事件发生后,在国务院或省政府工作组及市委、市政府领导下开展应对处置工作。

(6)建立完善工作制度、预案体系,加强宣传培训演练,提升群众防灾减灾意识。

(7)完成市防指和县委、县政府交办的其他工作。

2.2.6  县防指领导职责

县防指领导职责清单详见附件2。

2.2.7  县防办职责

县防办承担县防指日常工作,组织、协调、指导和监督全县防汛抗旱工作。负责检查督促各乡镇、部门(单位)贯彻落实上级和县委、县政府以及县防指的工作部署落实情况。负责县防指各成员单位综合协调工作,及时沟通、共享相关信息,向县防指提出重要防汛抗旱指挥、调度和决策意见。

(1)建立完善防汛抗旱工作机制。

(2)安排部署各乡镇、各部门(单位)汛前准备工作并组织开展督促检查,负责本级相关防汛抗旱责任人的汇总上报并公示。

(3)与县地质灾害防治指挥部建立汛期防汛防地灾联合值守工作机制,共同开展汛期值班值守、会商研判、预警发布、指挥调度、督责问效工作。

(4)组织防汛抗旱应急预案的编制及修订;组织开展防汛抗旱综合演练工作;统计、核实、上报和发布洪涝干旱灾情。

(5)统筹防汛抗旱宣传和信息报送、发布工作。发布县委、县政府相关重大决策部署和重大汛情、旱情及防汛抗旱动态等。

(6)负责县防指会议组织、文件起草、简报编印、档案管理等工作。

(7)完成县委、县政府和县防指交办的其他工作。

2.2.8  县防指成员单位职责

县防指成员单位是县防汛抗旱组织领导体系的重要组成部分,应根据职责分工,各司其职、各负其责、密切协作,确保防汛抗旱各项工作任务高质量完成。

县人武部:负责协调驻旺武警,组织所属民兵队伍执行抗洪抢险、营救群众、转移运送物资、稳定社会秩序及其他重大防汛抗旱任务。完成县防指交办的其他任务。

县委宣传部:负责防汛抗旱重大信息发布、舆论引导等工作,及时发布相关信息,回应社会关切;负责统筹做好防汛抗旱网络舆情监测、调控管控工作,指导相关单位(部门)做好舆情监测、上报、研判、处置等工作。完成县防指交办的其他任务。

县水利局:负责县防办日常工作;具体承担“防”和“治”工作;负责统筹未启动防汛抗旱应急响应时和启动三级、四级防汛抗旱应急响应后的全县水旱灾害应对处置工作;负责承担防御洪水应急抢险的技术支撑和保障工作;负责落实综合防灾减灾规划相关要求,组织编制并实施水旱灾害防治规划和防护标准;承担水情旱情监测预警工作;负责水旱灾害风险普查;组织编制县内重要江河和重要水工程的防御洪水、抗御旱灾调度和应急水量调度方案,按程序报批并组织实施;督促指导水利工程设施、设备的安全运行、应急抢护,负责防汛抗旱工程安全和监督管理;负责指导、协调水库、电站移民安全度汛工作;负责监督、指导监管职责范围内水电站安全度汛工作;负责会同县自然资源局、县应急管理局共同开展汛期联合值守工作。完成县防指交办的其他任务。

县应急管理局:负责县防办日常工作,具体承担“抢”和“救”工作;负责统筹启动一级、二级防汛应急响应后的全县水旱灾害应对处置工作;负责协助开展全县水旱灾害防治工作;负责编制修订《旺苍县防汛抗旱应急预案》;负责洪涝灾区和旱区群众的生活救助,督促、指导各乡镇、部门(单位)进行应急救援演练;建立灾情报告制度,提交县防指依法统一发布灾情;组织开展综合监测预警,承担洪水干旱灾害综合风险评估工作;负责会同县自然资源局、县水利局共同开展汛期联合值守工作。完成县防指交办的其他任务。

县发展和改革局:负责将重点防汛抗旱建设项目纳入全县经济社会发展总体规划,积极配合县水利局、县住房和城乡建设局争取中央、省、市预算内投资防汛抗旱建设项目。负责协调各部门开展应急粮食和物资储备、保障、调运工作,保障受灾群众粮食及帐篷、棉被等生活类救灾物资供给。按照职责分工做好能源领域防汛抗旱的组织实施工作,配合做好受灾区域和受灾群众生产生活能源保障有关工作。负责监督、指导县内在建水电工程、粮食流通、储备行业防汛安全工作,督促做好安全度汛。完成县防指交办的其他任务。

县经济信息化和科学技术局:负责防汛抗旱、抢险救灾的电煤、电力、成品油、天然气的紧急调度,并按照县防指指令做好应急药品储备保障工作;协助指导电力工程防汛安全工作,协调县防指防洪调度指令顺利执行;统筹协调各通信企业保障通信设施的防洪安全,保障抢险救灾指挥和重要部门、区域的通信畅通。完成县防指交办的其他任务。

县教育局:负责组织指导学校及教育培训机构防汛减灾工作和校区的防汛安全,组织指导各学校及教育培训机构有序组织师生安全撤离,必要时采取停课、调整上课时间、停止校车运营等措施。完成县防指交办的其他任务。

县公安局:负责维护防汛抢险秩序和灾区社会治安等工作,协助组织群众撤离和转移。为因灾死亡失踪(联)人口核查核定工作提供技术支持,配合开展调查走访、舆情监测、数据分析。完成县防指交办的其他任务。

县民政局:指导各类社会组织规范开展救灾捐赠工作,及时做好统计、分配、使用、公示和反馈等工作;督促指导各乡镇及时将符合条件的受灾群众纳入临时救助或最低生活保障范围。完成县防指交办的其他任务。

县财政局:负责全县防汛抗旱经费的筹集、拨付和监督管理,及时下拨中央、省、市、县防汛抗旱补助资金。完成县防指交办的其他任务。

县自然资源局:负责指导协调因降雨诱发的山体滑坡、崩塌、地面塌陷、泥石流等地质灾害排查、监测、预警、治理等工作,做好因降雨突发地质灾害抢险救援的技术保障工作;负责为防汛抗旱决策提供地理信息支撑。会同县水利局、县应急管理局共同开展汛期联合值守工作。完成县防指交办的其他任务。

广元市旺苍生态环境局:负责做好与防汛抗旱相关的水污染防治工作;指导并组织实施水质监测,及时发布水质监测预警信息,调查处理水污染事故。完成县防指交办的其他任务。

县住房和城乡建设局:负责城区道路、城市桥梁的安全度汛及抢险救援工作;指导各乡镇督促物业服务小区及有物业服务的地下车库安全度汛工作。做好洪涝灾害发生后的保障工作。组织指导对灾区受灾房屋结构安全进行应急评估,为灾区群众应急安置房和灾后返迁房的启用安全提供技术指导。完成县防指交办的其他任务。

县交通运输局:负责公路、水路交通行业防汛抗旱工作,指导和协调处置职责范围内公路、水路抢通保通和应急运输保障等工作,配合公安交警做好道路交通管制工作;组织开展船舶安全度汛监管,落实船舶禁航、停渡、固锚等制度,防止“跑船”,对桥梁、堤坝安全造成威胁;指导和参与河流大型漂移物和危化品拦截。完成县防指交办的其他任务。

县农业农村局:负责及时收集、整理和反映全县农业旱涝灾情信息,指导全县农业防汛抗旱和灾后农业救灾、生产恢复及农业农村系统的防洪安全等工作。完成县防指交办的其他任务。

县商务和经济合作局:负责灾区主要生活必需品市场监测,保障主要生活必需品市场供应,协调防汛抗旱灾后恢复重建主要生活必需品供应等工作。完成县防指交办的其他任务。

县文化广播电视体育和旅游局:负责组织指导文化、旅游和体育行业做好防汛减灾、防汛安全等工作;协助景区主管部门做好A级旅游景区防汛减灾工作;组织宣传涉水野游景点、网红打卡地、避暑戏水地等点位安全风险防范知识,引导广大游客选择正规旅游景区(景点)游玩,督促旅行社在组织旅游团队时落实相应管控措施;负责组织广播电视播出单位开展防汛抗旱知识宣传,配合做好防汛预警信息发布等工作。完成县防指交办的其他任务。

县卫生健康局、县疾病预防控制局:负责组织指导灾区卫生防疫和医疗救治工作,做好救灾医疗物资储备工作。完成县防指交办的其他任务。

县国有资产事务中心:负责督促指导所监管县属国有企业防汛抗旱工作,组织国有企业配合做好防汛抗旱救灾工作。完成县防指交办的其他任务。

县国防动员事务中心:负责协调组织人防工程防汛抗旱工作,组织人防专业队伍配合做好防汛抢险救灾工作。完成县防指交办的其他任务。

县林业局:负责及时收集、整理和反映全县林业旱涝灾情信息,做好林业防汛抗旱救灾、生产恢复等工作,负责灾后生态修复。完成县防指交办的其他任务。

县气象局:负责天气气候监测、预报、预警,及时、准确提供防汛抗旱所需的气象信息,组织实施抗旱人工增雨作业。完成县防指交办的其他任务。

旺苍水文测报中心:负责全县水雨情监测、土壤墒情监测和洪水预报,及时准确提供防汛抗旱所需的水情和墒情信息。完成县防指交办的其他任务。

县红十字会:负责组织社会力量,筹措社会资金,配合协助水旱灾害抢险救援。完成县防指交办的其他任务。

成铁广元车务段旺苍车站:负责铁路、所辖工程及设施的防汛安全及抢险救灾工作,优先运送防汛抗旱抢险人员以及物资设备。完成县防指交办的其他任务。

县消防救援大队:根据险情灾情,按照县防指安排,参与防灾减灾救灾有关工作,承担水旱灾害突发事件抢险救援工作。完成县防指交办的其他任务。

国网旺苍县供电公司:负责水电站防汛抗旱电力调度运行、电力设施保障等工作,协助指导水库水电站管理单位执行防汛调度指令。完成县防指交办的其他任务。

中国电信旺苍分公司、移动旺苍分公司、联通旺苍分公司、铁塔旺苍分公司:负责所辖通信设施的防汛安全,保障抢险救灾指挥和重要部门、区域的通信和预警信息发布渠道畅通。完成县防指交办的其他任务。

2.3  专项工作组

县防指根据应急响应等级成立专项工作组(见附件3),专项工作组数量、成员单位和职责可根据实际需要进行调整。各专项工作组组长由牵头单位负责同志担任,负责协调工作组各成员单位共同做好应急处置工作,组内成员单位要加强分工合作、协调联动,形成应对合力。

(1)综合协调组

牵头单位:县水利局、县应急管理局

成员单位:县发展和改革局、县公安局、县财政局、县自然资源局、县交通运输局、县国有资产事务中心等相关单位。

工作职责:传达贯彻党中央、国务院指示,传达执行国家防总,省委、省政府,市委、市政府,县委、县政府决策部署,做好防汛抗旱综合协调工作。汇总报送险灾情动态和应急工作进展情况等。完成县防指交办的其他任务。

(2)抢险救援组

牵头单位:县应急管理局

成员单位:县人武部、县公安局、县发展和改革局、县自然资源局、县住房和城乡建设局、县水利局、县国防动员事务中心、县红十字会、武警旺苍中队、县消防救援大队等相关单位。

工作职责:负责组织指导救援救助受灾群众,统筹各相关力量实施抢险救援救灾工作。完成县防指交办的其他任务。

(3)技术保障组

牵头单位:县水利局

成员单位:县自然资源局、县住房和城乡建设局、县交通运输局、县气象局、旺苍水文测报中心等相关单位。

工作职责:负责做好气象、水文、地质、测绘等信息保障。负责做好道路桥梁和城市内涝、房屋技术保障。密切监视汛情、险情、灾情及次生衍生灾害发展态势,及时组织会商研判,为应急救援提供技术保障。完成县防指交办的其他任务。

(4)通信电力保障组

牵头单位:县经济信息化和科学技术局、县发展和改革局

成员单位:国网旺苍县供电公司、电信旺苍分公司、移动旺苍分公司、联通旺苍分公司、铁塔旺苍分公司等相关单位。

工作职责:负责应急通信、电力等保障工作;组织抢修供电、通信等设施。完成县防指交办的其他任务。

(5)交通保障组

牵头单位:县交通运输局

成员单位:县公安局、成铁广元车务段旺苍车站等相关单位。

工作职责:负责做好道路运输保障。实施必要的交通疏导和管制,维护交通秩序;协调组织优先运送伤员和抢险救援救灾人员、物资、设备。完成县防指交办的其他任务。

(6)群众安置和灾情评估组

牵头单位:县应急管理局

成员单位:县公安局、县教育局、县民政局、县财政局、县自然资源局、县住房和城乡建设局、县交通运输局、县水利局、县农业农村局、县商务和经济合作局、县文化广播电视体育和旅游局、广元市旺苍生态环境局、县红十字会等相关单位。

工作职责:负责指导受灾群众(游客)转移安置和基本生活保障。对安置场所进行灾害风险评估;及时组织调拨救灾款物,视情开展救灾捐赠;做好受灾人员家属抚慰和因灾遇难人员遗体处置工作。负责水旱灾害事件灾情统计、核查和灾害损失评估、灾害调查评估,为因灾死亡失踪(联)人口核查核定工作提供技术支持,配合开展调查走访、舆情监测、数据分析。完成县防指交办的其他任务。

(7)医疗救治组

牵头单位:县卫生健康局

成员单位:县经济信息化和科学技术局、县红十字会、县疾病预防控制局等相关单位。

工作职责:负责医疗救(援)治和卫生防疫工作。加强医疗物资的组织调度,做好救援人员的医疗保障工作;做好洪灾及次生衍生灾害发生后疾病预防控制和卫生监督工作。完成县防指交办的其他任务。

(8)社会治安组

牵头单位:县公安局

成员单位:武警旺苍中队等相关单位。

工作职责:负责灾区社会治安维稳工作。预防和打击各类违法犯罪活动,预防和处置群体事件;做好灾区重要目标安全保卫工作。完成县防指交办的其他任务。

(9)宣传报道组

牵头部门:县委宣传部

成员单位:县水利局、县应急管理局、县文化广播电视体育和旅游局、县融媒体中心等相关单位。

工作职责:统筹新闻报道工作。指导做好现场发布会和新闻媒体服务管理;组织开展舆情监测研判,加强舆论管控和处置。完成县防指交办的其他任务。

(10)其他工作组

牵头领导、牵头单位、成员单位和工作职责等根据需要调整设置。

3  预防和监测预警

3.1  预防

(1)思想准备。贯彻落实党中央、国务院和省委、省政府,市委、市政府以及县委、县政府关于防灾减灾救灾工作的部署和要求,加强宣传动员,增强领导干部风险意识和底线思维,增强全民防御水旱灾害和自我保护意识,做好防大汛、抗大旱、抢大险、救大灾的思想准备。

个人应当增加安全意识和防范自然灾害风险意识,提高自救、互救能力。

(2)组织准备。建立健全组织体系,强化责任体系,全面梳理建立领导干部责任清单、部门职责清单、隐患风险清单和一项承诺书,理顺防灾减灾救灾工作机制,完善监测预警、指挥调度、会商研判、值班值守等制度,落实防汛抗旱责任,逐级落实并公示中小河流、水库水电站、山洪灾害危险区、城镇等各级各类防汛抗旱责任人,加强防汛抗旱队伍建设和管理。

(3)工程准备。做好堤防、水库水电站、河道整治、涵闸、泵站等各类水工程运行准备,按要求完成防汛抗旱工程建设和水毁工程修复建设任务,对存在病险的防洪工程等实行应急除险加固,对在建的涉水工程设施和病险工程,落实安全度汛方案和工作措施。模拟极端情形,科学规划城市防御布局,科学划定洪涝风险控制线,合理确定洪涝防御标准,补齐排水防涝设施短板,逐步形成城市排水防涝工程体系,系统化推进城市内涝治理,保障城市运行。县住房和城乡建设局、县水利局等部门应加强协调和配合,科学调度防洪排涝工程、正确处理外洪内涝关系,确保防洪防涝安全。

(4)预案准备。各乡镇以及县级有关部门(单位)、基层组织、企事业单位和社会团体要持续优化、动态完善防汛抗旱应急预案,及时结合新情况新要求,细化预警阈值确定、应急响应行动、预警响应衔接和极端暴雨、超标洪水应对等措施,突出大中小河流、山洪沟、涉水工程、山洪灾害危险区、水库、塘堰、水电站、乡镇驻地、临水临崖临坡村落(居户)等重点区域的预案修订,进一步完善极端暴雨灾害情况下人员转移避险方案,提高预案的针对性、实用性和可操作性。并根据实际情况,制定配套的工作手册、行动方案等支撑性文件,构建上下衔接、横向协同、高效完备的应急预案体系。

乡镇应急预案重点规范乡镇层面应对行动,侧重明确突发事件的预警信息传播、任务分工、处置措施、信息收集报告、现场管理、人员疏散与安置等内容。村(社区)应急预案侧重明确风险点位、应急响应责任人、预警信息传播与响应、人员转移避险、应急处置措施、应急资源调用等内容。

水库水电站防洪抢险应急预案要根据工情、汛情等变化情况及时组织修订完善。

(5)装备物资储备。明确防汛抗旱物资品种、数量,足额补充和储备防汛抗旱抢险救灾物资,聚焦高发频发区域做好物资装备前置和储备保障,根据实际情况,及时补充编织袋、简易预警设备、救生衣、拦截缆绳、应急灯、抢险照明车、卫星电话、无人机等防汛物资,统筹辖区内大功率排水车、冲锋舟、长臂挖掘机等应急抢险装置装备,确保关键时刻调得出、运得到、用得上。建立完善救援救灾装备物资快速调用办法,明确调用补偿标准,及时予以相互支援,协同做好受灾群众生活安置救助等保障工作。

(6)应急队伍准备。各乡镇、县级有关部门(单位)对辖区、行业系统内各类应急救援力量进行排查登记造册,加强上级在旺企业应急救援力量对接,明确指挥关系、响应流程、通联方式和力量编成,建强以区域性中心消防站为主力、以镇应急队和村(社区)应急队为辅的“一主两辅”基层应急力量体系,通过“多员合一”建设一支稳定的专兼职综合应急队伍,要针对重要部位和薄弱环节前置救援力量,确保在紧急时刻拉得出、顶得上。注重科学安全救援,周密制定抢险救援方案,严格落实风险评估、安全提示等措施,坚决保障参与救援人员安全。按照“本地为主、周边支援、上级支持”的原则,建立应急资源互助、互用、互补机制,强化抢险救援过程中的联动,提升协同作战能力。邻近地区应急救援力量要适时开展联演联训,提前熟悉异地救援环境,加强相关领域专业机构、专家等技术支撑力量共建共用,优势互补、联合应对,提高抢险救援能力和时效性。大力鼓励邻近村(社区)、左邻右舍灾害发生中,在确保自身安全的情况下开展互助互救。

(7)紧急避难场所建设。充分利用乡镇和村(社区)的办公用房、学校、村民活动室、文体场馆(设施)、广场等公共设施和场地空间,规划建设应急避难场所。加大灾害事故高风险农村地区和乡镇集中居住区应急避难场所建设力度。

(8)通信准备。根据职能职责分级完善监测预警网络,健全预警发布机制,畅通预警发布渠道,确保覆盖到村(社区)、到户、到人;分级检查和维护防汛抗旱通信专网和监测预警设施设备,保障其正常使用;加强水旱灾害多发易发频发地区通信网络容灾抗毁能力建设,提升基层应急通信网络设备覆盖率。考虑“三断”(断路、断网、断电)等极端条件,强化应急通信保障。

(9)风险辨识管控。各乡镇以及县自然资源局、县水利局、县应急管理局、县气象局、旺苍水文测报中心等有关行业部门(单位)要结合本辖区、本行业(系统)实际,负责收集、掌握辖区内、行业内可能影响毗邻地区、下游区域的潜在风险隐患,做好清单管理,为防汛减灾工作提供数据支撑;对当前已掌握的各类河流、水库水电站、涉水工程、山洪灾害危险区、地质灾害隐患点、山洪沟、乡镇驻地、临水临崖临坡村落(居户)等,组织技术力量,逐一开展风险评估研判,准确把握发生强降雨引发次生灾害的危险程度、受灾人员、危害类别和防范措施,分类登记造册,并随时更新。要将毗邻地区、上游区域强降雨可能影响本区域和行业(系统)的风险一并开展分析研判,切实做到底数清、情况明,解决“想不到”的问题。

(10)隐患排查治理。牢固树立“防胜于救”理念,从隐患排查、监测预警、工程调度、巡查防守、险情处置、转移避险等环节全过程落实安全度汛措施。强化行业部门主导的专业排查,交通、水利、住建、经信、铁路等有关单位按职责分工,突出公路交通设施、铁路交通设施、重大水利水电设施和城市交通基础设施、重大输电线路等能源设施、重大水运基础设施等,开展专业化排查评估,采取有效措施治理涉灾风险隐患。按照“汛期不过、排查不止”和“雨前排查、雨中巡查、雨后核查”要求,对临河临沟临山住户及聚居点、山洪灾害危险区、地质灾害隐患点、中小河流沿岸、城市易涝区、高山峡谷区、沟口冲积扇等重点区域,以及在建涉水工程施工营地、水库、水电站、江河堤防等重点设施,集市、学校、旅游景区、农家乐、民宿、工矿企业、高速公路沿线、铁路沿线等人员密集区,开展“全覆盖”“拉网式”隐患排查整治,对新发现的山洪灾害危险区、地质灾害隐患点等安全隐患要及时上报并纳入台账管理,切实采取排危除险、工程治理或避险搬迁等措施分类处置,确保整治到位、监测到位、管控到位。

(11)汛前检查。县防指组织成员单位组成工作组,由县级领导带队赴各乡镇开展汛前检查工作。检查中央、省、市、县相关部署落实、防汛减灾责任体系建立、体制机制建立完善、能力建设等情况,风险隐患排查及治理情况,防汛经费使用管理、物资储备、抢险救援力量配置、宣传培训演练、方案预案编制等应急保障落实情况,防汛重点部位和关键环节防范措施落实情况,重点防灾减灾项目推进情况,查找防汛抗旱工作存在的薄弱环节,明确责任,限时整改。

(12)督导检查。严格落实县级领导督导乡镇工作要求,“一对一”包保责任县领导带队,23个县级防汛减灾工作督导责任单位明确专人,汛期每月到责任乡镇开展常规督导不少于1次。全县启动四级、三级防汛应急响应时,必须到责任乡镇进行督查指导;启动二级、一级防汛应急响应时,必须到责任区域蹲点值守、靠前办公。加大“四不两直”督查力度,充分运用“三单一书”“两书一函”等方式,确保防汛减灾安全各项责任和要求落实到最小单元、“最后一百米”。

(13)组织演练。各级党政领导干部要熟悉预案和流程,各级党政主要负责同志要亲自组织开展预案演练,下级预案演练情况及时报上级防指办公室备案,上级防指办公室组织开展预案演练情况抽查。充分考虑强降雨可能引发的灾害链,组织基层具体单元常态化开展贴合当地地形地貌的实战化防灾避灾演练。乡镇和村(社区)每年要至少组织1次综合演练,山洪灾害危险区、水库水电站、人口密集区、在建工程、工地营地等重要防汛点位每年至少开展一次实战演练,特别是要加强夜间和断路、断电、断通信等特殊场景、极端条件下的实战演练,确保关键时刻“信息准、方向对、跑得快”,不断提升应对极端情况的避险能力。

(14)宣传培训。结合实际,按照分级负责的原则,各级防指组织实施防汛抗旱知识与技能培训,建立健全县、乡镇、村(社区)三级培训制度,每年汛前至少组织一次培训,定期不定期组织各级责任人、管理人员、成员单位人员等开展防汛抗旱培训,县级负责对乡镇开展培训,乡镇负责对辖区内村组干部、有关责任人、危险区内的群众实行全员培训,提高防灾减灾救灾能力和防范化解风险水平。深入推进防汛减灾宣传进企业、进农村、进社区、进学校、进家庭,强化基层一线和广大群众的现场培训演练,做到识灾本领防盲目、预案演练防无助,依靠广大群众抓好灾害防范应对工作,全面提高群众防汛减灾意识和自救互救能力。

3.2  监测预报预警

3.2.1  监测

(1)雨水情

县气象局、县水利局、旺苍水文测报中心为防汛抗旱监测信息的主要提供单位,按照部门职能职责,合理布设雨、水、墒情监测站网,加强监测分析,及时、准确、全面向县防指提供监测成果。县防指应向县水利局、县气象局、旺苍水文测报中心适时提出要求,实时掌握天气形势和河流水势变化。县水利局定期对各类水利工程蓄水情况进行统计、汇总、审核、分析,及时、准确向县防指提供监测成果。

(2)工程信息

水库。根据管理权限,县水利局应向水库水电站管理单位及时下达报汛报旱任务书,水库水电站管理单位要根据报汛报旱任务书要求,上报水库水位、入库流量、出库流量、蓄水量等监测信息。在水库水位超过汛限水位时,水库管理单位应对大坝、溢洪道、放水设施等关键部位加密监测,并按照有调度管理权限的水行政主管部门批准的洪水调度方案进行调度,其工程运行状况应向有调度管理权限的水行政主管部门报告。当水库发生险情后,水库管理单位要落实专人监测,及时进行应急抢护处理并向主管部门和当地防指报告。水库发生重大险情应在险情发生后半小时内上报至县防指和县级主管部门。

堤防。各级堤防工程管理单位负责对所管辖的堤防(含护岸,下同)进行日常巡查。出现警戒水位以上洪水时,应组织专业和群众防汛队伍巡堤查险,严密布防,加强监测并及时向主管部门报送运行情况。发生险情后,要落实专人监测,及时进行应急抢护处理并向主管部门和当地防指报告。重要河流堤防发生重大险情应在险情发生后半小时内上报至县防指。

其他。水闸、涵洞、渠道等其他涉水建筑物工程管理单位在工作中要对所管辖的涉水建筑物进行日常巡查。当河流出现警戒水位以上洪水时,各级水闸、涵洞等其他涉水建筑物管理单位应加强监测,并将运行情况报主管部门。发生险情后,要落实专人监测,及时进行应急抢护处理并向主管部门和县防指报告。

(3)堰塞湖险情

出现堰塞湖险情后,县防指应立即组织核实堰塞湖库容、上游来水量、堰塞体物质组成、堰塞体形态、淹没区及溃决洪水影响区的风险人口、重要城镇、公共或重要设施、生态环境等,按照《堰塞湖风险等级划分与应急处置技术规范》(SL/T450—2021),明确堰塞湖风险等级,由对应的牵头单位组织开展应急监测和安全监测,并将相关情况报县防指,县防指研究后报市防指。

(4)城市内涝

县住房和城乡建设局要加强和指导对县城区、重点乡镇政府驻地等重要易涝点位的监测管控,合理布设监测设施,提高城市内涝智慧化监测水平。

(5)旱情

各级防指应掌握水雨情变化、蓄水情况、农田土壤墒情和城乡供水情况。县水利局、县农业农村局、县气象局等部门应加强旱情监测预测,针对干旱灾害的成因、特点和发展趋势,因地制宜采取预警防范措施,并将相关情况及时报同级防指。

(6)灾情

各级防指应及时收集、核实、汇总、上报洪涝和干旱灾情。洪涝灾情信息主要包括:灾害发生的时间、地点、范围、受灾人口、因灾死亡失踪人口、紧急转移安置人口、因灾伤病人口、需紧急生活救助人口等信息,以及居民房屋等财产、农林渔、交通运输、邮电通信、水利、水电气设施等方面的损失信息。干旱灾害信息主要包括:干旱发生的时间、地点、程度、受旱范围、影响人口等信息,以及对工农业生产、城乡生活、生态环境等方面造成的影响信息。

3.2.2  预报

(1)气象、水利、水文部门对雨水情加强跟踪研判分析。县气象局应在提供大范围中长期预报的同时,特别加强短期预警和小区域短临预报。水利部门要加强山洪预警预报。旺苍水文测报中心应在提供主要江河控制站预报的同时,加强中小河流洪水预报。其他部门要做好本行业领域预报。县防指应加强组织会商,定期不定期分析研判雨情、水情、旱情、险情和灾情趋势并及时通报。

(2)建立健全区域联防联控机制。建立县、乡镇、村三级毗邻区域防汛联防联控机制,加强与毗邻县接壤区域之间、县内毗邻地区之间和流域上下游、左右岸之间的协调联动,切实做到“上游下雨、中游吹哨、下游避险”。县级负责与县内、县外接壤的临县(区)建立区域联防联控机制。各乡镇负责与县内、县外毗邻乡镇、村(社区)建立区域联防联控机制,实现区域联动无盲区、零死角。县自然资源局、县水利局、县应急管理局、县气象局等县级有关部门要分行业、分领域分别与毗邻地区建立“上下互通,左右互联”的联防联控机制。加强沟通协商,通过签订协议等方式,明确责任单位及联络员,明确信息共享、会商研判、预案演练、应急救援等合作方式和具体任务。涉及跨县和县内跨乡镇的联防联控机制由县水利局、县防办牵头建立。

(3)强化信息共享。各级各有关部门(单位)、各乡镇要通过党政网、值班电话、传真、行业系统平台、大数据中心数据平台、联合工作微信群等多种方式和渠道,及时互通共享重要信息资源。在本辖区内,存在影响毗邻地区、下游区域情况的,要主动第一时间向周边地区推送相关信息。可能受影响的毗邻地区、下游区域的乡镇、有关行业部门要按照联动机制有关规定,积极主动对接辖区接壤、邻近、上游区域,及时准确掌握有关信息,同时按照信息共享原则,继续向其它毗邻地区、下游区域推送。

县气象局、县水利局、县自然资源局、县应急管理局等部门要按照信息共享原则,主动对接毗邻地区、上下游区域同行业部门,做好信息互换互通。县气象局要注重共享临近、短期降雨预测预报预警、实时监测数据以及其他相关数据信息;县水利局要注重共享山洪灾害危险区、相关雨水情、河流、山洪沟、重要水利防洪设施等信息,洪水预测、预报、预警发布信息,行业救援队伍物资、防汛减灾相关责任人以及其他相关数据信息;县自然资源局要注重共享地质灾害隐患点、地质灾害气象风险预警发布情况及防灾责任人、专职监测员以及其他相关数据信息;县应急管理局要注重共享国家综合性消防救援队伍、专业抢险救援队伍、社会救援队伍等抢险救援力量,救灾救助物资储备,灾害信息员以及其他相关数据信息。其他部门要统筹做好本行业领域信息共享工作。同级有关单位之间要在本级政府的统一协调指挥下,从有利于工作的角度,适时横向充分共享有关信息。

(4)强化会商研判。各级各有关部门要充分运用已获取的区域、流域共享信息,分析研判可能发生的洪涝、地质及次生灾害风险和发展趋势,为防汛减灾指挥决策提供更加科学更加准确的依据。会商中注重毗邻地区、上游区域获取信息的研究分析,深入研判对本区域可能造成的影响范围、程度,结合自身实际,制定针对性防范应对措施。建立与毗邻地区、上下游区域联合会商研判机制,明确会商启动条件、时间、参加人员、方式和内容等,共同商定灾害联合应对措施方案。要准确提出灾害风险等级和预警范围,特别要加强短历时、高强度、小范围强降雨临灾预警,突出做好山区、水边及偏远地区的预警响应。按程序发布预警时,要预警通报毗邻地区、上下游区域对本地区、行业领域可能存在的风险。

3.2.3  预警分类分级

按照气象、水利、水文相关行业标准,结合旺苍实际,分为暴雨、干旱、河流洪水、山洪灾害气象风险四类预警。暴雨、河流洪水、山洪灾害气象风险预警从高到低分为红色、橙色、黄色、蓝色四个等级,干旱预警从高到低划分为橙色、黄色、蓝色三个等级。

(1)暴雨预警

1.县气象局及时发布暴雨预警信息,加强与县自然资源局、县水利局、县应急管理局、旺苍水文测报中心等部门的会商研判,适时启动移动和加密气象观测,做好递进式预报服务。同时加强天气气候预测预报和灾害性天气预警工作,及时通报共享周边、上下游气象信息情况,精准发布短临预警信号,并根据降雨落区预报到乡镇和局部地区。

2.县水利局组织开展洪水调度、堤防水库工程巡护查险、防汛抢险等工作,提出避险转移建议和指导意见。

3.县自然资源局密切关注降雨预报及降雨实况,及时开展地质灾害风险会商研判,动态发布预警信息,指导相关部门(单位)及预警乡镇加强风险隐患巡查和监测、做好受威胁群众转移避让和安置管控等工作。

4.县住房和城乡建设局组织检查及清理城市、村镇排水系统,确保沟渠畅通,做好内涝防御准备工作。

5.县教育局根据预警信息,指导督促幼儿园、中小学校、中等职业学校做好停课等应急准备。

6.县文化广播电视体育和旅游局加强户外文化体育活动和旅游活动管理,必要时停止受影响地区一切户外活动。

7.县公安局、县交通运输局做好受灾地区和救援通道交通引导或管制工作,必要时对城市公共交通、道路水路客货运输、交通在建项目等采取停运、停班、停工撤离等紧急避险措施。

8.县农业农村局、县林业局落实农(林)业生产防御措施,组织指导开展抗灾救灾和灾后恢复生产。

9.电力企业加强电力设施检查和电网运营监控,及时排除危险、排查故障;必要时(如严重城市内涝)可采取停电避险方式确保群众生命财产安全,险情消除后及时恢复供电。要加强应急电力保障能力建设,积极做好应急、极端条件下的电力保障工作。

10.通信企业加强通信及其配电设施安全检查和运营监控,及时排除危险、排查故障,必要时应按要求及时采取紧急避险措施。要加强应急通讯保障能力建设,积极做好应急、极端条件下的通信保障工作。

11.其他部门根据工作职责做好暴雨防范应对工作。

(2)干旱灾害预警

1.县气象局及时发布气象干旱预警信息,适时加密监测预报;加强与相关部门的会商,评估干旱影响;适时组织人工影响天气作业。

2.县水利局应加强旱情监测和管理,针对干旱灾害的成因、特点,因地制宜采取预警防范措施。

3.乡镇防指应及时掌握旱情灾情,根据干旱发展趋势,及时组织和督促有关站所、村(社区)做好抗旱减灾工作。

4.乡镇防指应当鼓励和支持社会力量开展抗旱减灾工作。

(3)河流洪水预警

1.当河流即将出现洪水时,旺苍水文测报中心应做好洪水预报和预警工作,及时向县防指报告水位、流量的实测情况和洪水走势。县气象局应做好天气监测预报工作,及时向县防指报告降雨实况、预报等。

2.旺苍水文测报中心应按照分级负责原则,确定洪水预警区域、级别和洪水信息发布范围,按照权限向社会发布。

3.旺苍水文测报中心应跟踪分析中小河流洪水的发展趋势,及时滚动预报最新水情,为抢险救灾提供基本依据和技术支撑。

(4)山洪灾害预警

1.可能遭受山洪灾害威胁的地方,应根据山洪灾害的成因和特点,主动采取预防和避险措施。县水利局、县气象局、县自然资源局等部门应密切联系,相互配合,实现信息共享,提高预报水平,及时发布预警。县级有关部门(单位)要加强高山峡谷区域气象雷达建设和应用,优化地面监测站点布设,强化跨区域跨部门(单位)信息共享应用,提升山区局部短历时强降雨监测能力和山洪灾害综合监测能力。

2.有山洪灾害防治任务的地方,县水利局应加强日常防治和监测预警。县人民政府组织县水利局、县气象局、县自然资源局等部门编制山洪灾害防御预案,绘制区域内山洪灾害风险图,划分并确定区域内易发生山洪灾害的地点及范围,制订安全转移方案,明确组织机构的设置及职责,指导行政村(社区)编制山洪灾害防御预案。具体工作由乡镇人民政府组织实施。

3.山洪灾害易发区应建立专业监测与群测群防相结合的监测体系,落实监测措施,汛期坚持24小时值班巡逻制度,降雨期间,加密监测频次,加强动态巡逻。每个乡镇、村(社区)、组和相关单位都要落实预警人员,一旦发现危险征兆,立即向周边群众发出警报,实现快速转移,并报告本地防汛抗旱指挥机构,以便及时组织抢险救灾。

3.2.4  预警发布

各级防汛抗旱指挥机构应加强预警信息管理,强化“人防”“技防”有机衔接,完善群专结合、人技结合的工作流程和管理制度,加强山洪、地灾等专业监测设备和预警平台运维,全面提升监测预警能力;建立预警信息共享发布机制,实现预警信息的权威统一发布,提高预警信息发布的时效性和覆盖面。

(1)发布权限和方式。气象灾害预警和山洪灾害预警实行集中发布、分行业发布和橙色预警信息、红色预警(信息、信号)向受影响区域群众普发等三种方式发布,具体要求按照《旺苍县自然灾害(洪涝、地质灾害)预警信息发布和值班值守调度工作制度(试行)》(旺汛办发〔2024〕24号)执行。

(2)预警对象。加强气象灾害、山洪灾害、地质灾害等预警信息的传递与接收,畅通面向社会公众和防灾责任人两条预警主线的渠道,确保做到全覆盖、无遗漏。对学校、医院、旅游景区、在建工地、各类安置点、山洪灾害危险区等特殊场所以及老、幼、病、残、孕等特殊人群应当进行针对性预警。

(3)信息传递。按照一级抓一级、下级为上级负责、层层抓落实的要求,实行“叫应”和“回应”机制,确保第一时间将信息传递到最末梢单元。接到有关气象预警后,县水利局、县自然资源局、县应急管理局等部门要分析研判,按程序发布预警,将预警信息下发至乡镇和有关单位。县防指收到市级有关预警信息后,要进行分析研判,及时将预警信息推送给有关乡镇防灾责任人;乡镇防灾责任人接到预警信息后,立即向预警信息发送机关予以回复,并第一时间发送至村(社区)、组主要负责人,逐一督促核实预警信息接收情况,实现信息接收闭环。村(社区)、组负责人接收到预警信息后,要及时向有关灾害管理责任人和涉灾群众进行“一对一”预警,特别是对老、幼、病、残、无行动能力的群众要实行“敲门行动”面对面预警。

(4)信息反馈。按照分级负责、归口管理的方式,各乡镇各有关部门(单位)接收到预警信息后,应立即组织部署防范应对工作,并向有关部门报送情况。严格落实山洪地质灾害预警信息“30123”叫应机制,市防指、市地灾指向我县发布山洪地质灾害预警信息后,县防指、县地灾指要在30分钟内汇总辖区内山洪灾害危险区、地质灾害隐患点责任人预警信息接收、反馈情况报市防指或市地灾指;山洪灾害危险区、地质灾害隐患点行政责任人立即赶赴责任片区开展蹲点督导,监测巡查和预警转移责任人每隔1小时向乡镇党委(政府)报告监测巡查、预警转移情况;乡镇党委(政府)每隔2小时汇总当前雨情、灾情等信息报县防指或县地灾指办;县防指或县地灾指每隔3个小时汇总有关情况报市防指或市地灾指办。县级及以下层级预警信息如超出规定时限未“回应”,立即启动紧急核查机制,县防指或县地灾指及时组织工作组赶赴现场核查情况。

(5)信息通道保障。县委宣传部、县经济信息化和科学技术局、县文化广播电视体育和旅游局、通信基础运营商等部门(单位)要做好预警信息发布通道保障工作。

3.3  预警行动

各级防指要做好相关预警与应急响应的衔接工作,要健全多部门联合会商机制,视情组织联合会商,分析研判灾害风险,综合考虑可能造成的危害和影响程度,及时提出启动、调整应急响应的意见和建议。各级防指应急响应原则上与本级有关部门(单位)的预警挂钩,把预警纳入应急响应的启动条件。

3.3.1  响应措施

预警信息发布后,各级各有关部门(单位)要根据预警级别和实际情况,按照分级负责、属地为主、层级响应、协调联动的原则,采取相应防范应对措施。

(1)密切关注雨情、水情、旱情,提高监测频次,滚动更新预报,及时发布传递预警信息。

(2)组织相关部门、单位和专家召开会商调度会,研判防汛抗旱形势,及时发送研判成果。

(3)按照“三个避让”“三个紧急撤离”要求,坚决疏散、转移易受威胁人员并做好安置和安全管理工作。严格转移避险闭环管理,建立核查机制,采取多种手段,多方交叉验证、核实确认。在有通信信号等条件的工地营地建设高杆视频监控装置,接入其上级管理单位、所属行业监管部门,由其上级管理单位督促做好避险转移工作。

(4)对预警地区防汛抗旱工作进行督促和指导,各级包保责任人要提前下沉一线。

(5)加强水库、水电站、堤防、山洪灾害危险区、在建工地、移民安置点、煤矿、非煤矿山等部位和区域的巡查值守,及时报送相关信息。

(6)关闭或限制使用易受洪涝灾害危害的场所,控制或限制容易导致危害扩大的公共场所活动,视情及时组织做好人员转移、停工、停学、停业、停运和暂停户外活动等工作,受威胁企业停工停产撤人,转移重要物资等工作,及时劝阻山涧溪谷、浅滩水域内野游、露营等行为,加强对重大危险源的管控,对重点部位和灾害易发区提前预置抢险救援力量。

(7)组织相关责任人、专业抢险救援队伍和负有特定职责的人员进入待命状态,动员后备人员做好准备,视情预置有关队伍、装备、物资等资源。调集抢险救援所需物资、设备、工具,准备转移安置场所。

(8)媒体单位优先做好预警信息传播和应急宣传工作,视情不间断滚动播报预警和雨水情信息。

(9)各级防指领导根据需要坐镇指挥防范应对工作,防指和成员单位加强值班值守和信息报送。

3.3.2  县防指预警行动

县气象局发布暴雨红色、橙色、黄色预警,或连续2天发布暴雨蓝色预警,经综合会商研判后,启动相应级别防汛应急响应,采取相应响应行动。当县气象局发布暴雨蓝色预警后,县防指和相关成员单位采取以下响应措施:

(1)风险研判。相关成员单位对灾害风险进行会商研判,结果及时共享并报送县防指。

(2)指挥调度。县领导组织会商调度时,相关成员单位参加并通报情况或安排部署本行业领域防灾减灾工作。县领导未组织时,由联合值守轮值单位分管领导组织会商调度,相关成员单位参加。

(3)安排部署。向乡镇和相关部门(单位)传达国家和省、市、县领导相关指示批示精神,部署防范应对工作,提出工作要求,跟踪工作落实情况,并按要求及时报送情况。

(4)督促指导。县防指视情派工作组赴预警地区,督促指导做好转移避险、“关停限”、工程调度、排查巡查、值班值守、物资队伍准备等防范应对工作。

(5)应急准备。视情通知提醒相关县级应急队伍和人员进入待命状态,检查准备县级救援救灾物资装备,并确保其处于良好状态,随时可以投入正常使用。对重点部位和灾害易发区提前预置抢险救援力量和救援救灾物资。

(6)值班值守。县防指和相关成员单位要加强值班值守,按职责分工动态了解掌握相关信息,并及时向县防指报告。联合值守轮值单位分管领导在水利局值班中心24小时驻守。

3.4  预警支持

3.4.1  洪涝、干旱风险图

县防指应组织有关部门(单位),研究绘制本地区包含城市内涝、河流洪水、山洪灾害、水利工程等方面风险图和干旱风险图,以各类洪涝、干旱风险图作为抗洪抢险救灾、群众安全转移安置和抗旱救灾决策的技术依据。

3.4.2  洪涝防御方案

县防指应根据需要,组织水利、住房城乡建设等有关部门及时编制和修订中小河流洪水防御方案、应对城市内涝方案,主动应对中小河流洪水和城市内涝。县水利局应根据情况变化,修订和完善洪水调度方案。

3.4.3  抗旱预案

县水利局应编制抗旱预案,主动应对不同等级的干旱灾害。

4  应急响应

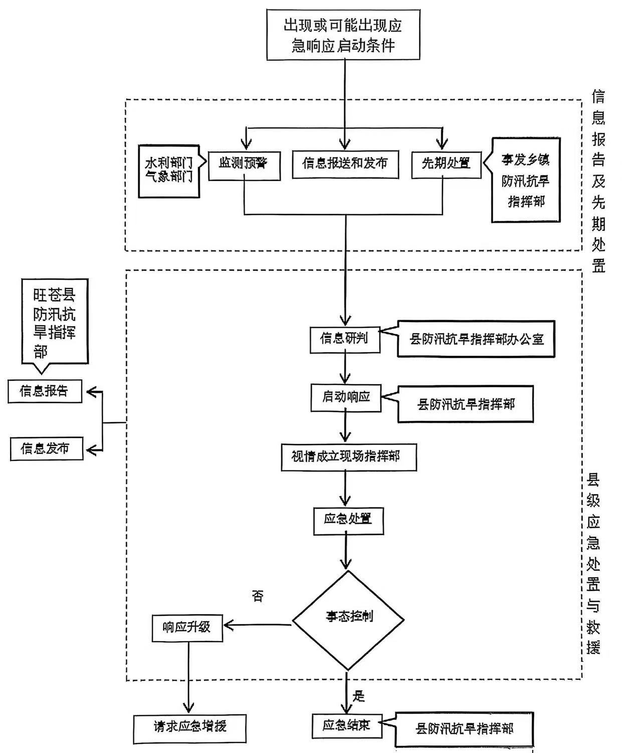
县级防汛抗旱应急响应分为防汛应急响应和抗旱应急响应。县防指适时启动、终止对应级别应急响应,经县防办组织综合会商研判,按程序报请县防指相关领导同意后,可提级启动应急响应。旺苍县防汛抗旱应急响应流程图(见附件4)。

县防指必须将暴雨黄色、橙色、红色预警信号纳入应急响应启动条件,及时将启动情况报市防指。县防指要密切关注暴雨预警信号发布情况,及时启动应急响应,视情启动县级应急响应。乡镇按照县防指发布的预警信号,做好相应的防范应对工作。

4.1  总体要求

(1)组织指挥。建立健全统一指挥、有序高效的应急联动和快速反应机制。灾害发生后,发生地党委、政府应加强组织领导,县防指及时启动应急响应,视情成立现场指挥部,摸排掌握险情灾情,开展会商研判,在高风险区域采取“关停限”措施,迅速调集专业队伍,科学开展现场处置,组织干部群众开展自救互救工作,做好信息发布和舆论引导,按规定及时向县防指报告。灾害应对关键阶段,党政负责同志要在防汛抗旱指挥中心坐镇指挥,相关负责同志根据预案和统一安排靠前指挥,确保防汛抢险救灾工作有序高效实施。

(2)转移避险。各部门(单位)要按照省委、省政府、市委、市政府和县委、县政府部署要求,进一步建立健全以预警为先导的汛期人员避险转移机制,针对气象、水利部门发布的暴雨、河流洪水和山洪灾害红色、橙色、黄色、蓝色预警,细化制定响应措施,确保人员安全。当出现城市内涝灾害时,防指应按照应急预案,及时组织有关部门和力量转移安置危险区域人员;对低洼积水等危险区域、路段,有关部门要及时采取警戒、管控等措施,避免人员伤亡。各有关部门(单位)、责任人应按职责分工,加强山洪灾害监测巡查,当山洪灾害易发区观测到降雨量达到预警阈值时,水利等有关部门应及时发出预警,乡镇人民政府及时按预案组织受威胁人员安全撤离。堤防决口、水闸垮塌、水库(水电站)垮坝的应急处理,首先应迅速组织受影响群众转移。乡镇人民政府负责妥善安置受灾群众,提供紧急避难场所,保证基本生活。

乡镇人民政府负责具体实施本区域内的防灾避险人员安全转移工作。村(居)民委员会按照职责协助乡镇人民政府做好防灾避险人员安全转移工作;情况紧急时,应当立即动员、组织受威胁人员避险转移。机关、团体、企业、事业等单位应当全面落实主体责任,负责本单位生产、经营、管理等区域内的防灾避险人员安全转移工作,配合人民政府依法组织的避险转移活动。

应当避险转移人员拒绝转移的,或者在灾害威胁解除前擅自返回受威胁区域的,乡镇人民政府应当给予劝导,劝导无效且情况紧急的,可以依照法律、行政法规有关规定采取必要措施,保障人员安全撤离受威胁区域。受威胁区域的村(居)民委员会和有关单位应当协助实施。

(3)抢险救灾。出现水旱灾害或防洪工程发生重大险情后,事发地防指应根据事件的性质,迅速对事件进行监控、追踪,按照预案立即提出紧急处置措施,统一指挥各部门和单位按照任务分工,各司其职,团结协作,快速反应,高效处置,最大程度减少损失。电力、交通、通信、石油天然气、化工等工程设施因暴雨、洪水、内涝发生险情时,工程管理单位应当立即采取抢护措施,并及时向其行业主管等有关部门报告;行业主管部门应当立即组织抢险,并将险情及抢险行动情况报告同级防汛抗旱指挥机构。大江大河干流堤防决口的堵复、水库(水电站)重大险情的抢护应按照事先制定的抢险预案进行,并由防汛专业抢险队伍实施。必要时提请县防指协调增援。

(4)安全防护。各乡镇人民政府和防指应高度重视应急救援人员的安全保障,调集和储备必要的防护器材、消毒药品、备用电源和抢救伤员必备的器械等,以备随时应用。应急救援人员进入和撤出现场由防指视情况作出决定,进入受威胁的现场前,应采取防护措施以保证自身安全。救援行动中,应急救援队伍应设置安全员,配备高音喇叭、警报器等示警装备。救援行动开始前,应进行安全提示;发现安全隐患时,应及时示警。

(5)社会力量动员与参与。出现水旱灾害后,事发地乡镇可根据事件的性质和危害程度,报经县级人民政府批准,对重点地区和重点部位实施紧急控制,防止事态及其危害进一步扩大。必要时可通过县级人民政府广泛调动社会力量积极参与应急突发事件处置,紧急情况下可依法征用、调用交通工具、物资、人员等,全力投入抗洪抢险和抗灾救灾。

4.2  启动、终止条件及响应行动

市、县干旱灾害分级标准(见附件5)、旺苍县防汛抗旱应急响应启动条件汇总表(见附件6)。

4.2.1  一级应急响应

(1)启动条件和程序

当达到或可能达到启动条件,县防指相关成员单位根据影响程度、范围和发展趋势,及时向县防办提出启动应急响应建议,县防办组织综合会商研判后提出意见,经县防指指挥长同意,报请县防灾减灾救灾委员会批准后启动一级应急响应。

(2)响应行动

1.安排部署。县防灾减灾救灾委员会主要负责同志组织指挥全县水旱灾害应对工作。根据需要,县防灾减灾救灾委员会主要负责同志组织召开全县紧急动员会,部署各乡镇及成员单位做好防汛抗旱救灾有关工作,督促指导采取转移避险、“关停限”等措施;召开会商调度会,了解掌握汛情、险情、旱情、灾情及重要工情等信息,研判防汛抗旱形势。

2.组织指挥。县防灾减灾救灾委员会主要负责同志或县防指指挥长、县防灾减灾救灾委员会主要负责同志安排的其他县领导等带领工作组赶赴灾害现场靠前指挥,组建前方指挥部。多地受灾特别严重时,成立前方分指挥部。县防灾减灾救灾委员会主要负责同志或其安排的其他县领导坐镇县防汛抗旱指挥中心指挥。

3.专项工作组。县防指启动专项工作组,在前方联合指挥部按职责全力开展抢险救援、技术保障、通信电力交通保障、灾情评估、群众安置、医疗救治、社会治安等防汛抗旱抢险救灾工作。

4.信息报送。县防办迅速将应急响应启动及防汛抗旱救灾等情况报告市防指、县委、县政府,并通报县防指各成员单位。视情请求市级层面在专家、队伍、装备和物资等方面给予支援。

5.值班值守。县防指强化值班值守,联合值守工作机制各单位加派工作力量,加强协调、督导事关全局的防汛抗旱调度,并与相关区域加强视频会商,及时作出针对性安排布置。县防指各成员及联络员保持通信畅通,相关成员单位派联络员到县防汛抗旱指挥中心值班,负责协调、处理、报告本单位相关工作。

6.舆论宣传。组织新闻媒体和基础通信运营商及时播报发布暴雨、洪水和指挥部公告等信息。组织协调新闻媒体赴灾区有序采访防汛抗旱救灾工作,做好正面宣传报道,正向引导舆论。县防指收集舆情信息,适时召开新闻发布会,回应社会关切。

7.社会动员。动员社会各方面力量全力做好防大汛、抢大险、救大灾工作,发动群众开展自救互救工作。动员引导市民尽量减少外出,要求受影响区域各机关、企事业单位、广大群众采取紧急避险措施,及时采取避险防范措施。在紧急情况下,按照《中华人民共和国防洪法》《中华人民共和国抗旱条例》等有关规定宣布进入紧急防汛期或紧急抗旱期,并行使相关权力、采取特殊措施,保障防汛抗旱工作顺利实施。

(3)响应终止

当灾害已经或趋于结束时,由县防办提出响应终止建议,县防指总指挥批准。响应结束后,有关部门和单位按职责分工,核实灾害损失和人员伤亡情况,并组织指导灾区做好灾后恢复重建工作。

4.2.2  二级应急响应

(1)启动条件和程序

当达到或可能达到启动条件,县防指相关成员单位根据影响程度、范围和发展趋势,及时向县防办提出启动应急响应建议,县防办组织综合会商研判后提出意见,由县防指指挥长批准后启动二级应急响应。

(2)响应行动

1.安排部署。县防指指挥长指挥全县水旱灾害应对处置工作。根据需要,主持召开会商调度会,了解掌握汛情、险情、旱情、灾情及重要工情等信息,研判防汛抗旱形势,部署有关乡镇及成员单位做好防汛抗旱救灾有关工作,督促指导采取转移避险、“关停限”等措施。

2.组织指挥。县防指指挥长或副指挥长带领工作组赶赴灾害现场靠前指挥,视情组建前方指挥部。多地受灾特别严重时,成立前方分指挥部。县防指指挥长或副指挥长坐镇县防汛抗旱指挥中心指挥。

3.专项工作组。县防指启动专项工作组,在前方联合指挥部按职责全力开展抢险救援、技术保障、通信电力交通保障、灾情评估、群众安置、医疗救治、社会治安等防汛抗旱抢险救灾工作。

4.信息报送。县防办迅速将应急响应启动及防汛抗旱救灾等情况报告市防指、县委、县政府,并通报县防指各成员单位。

5.值班值守。县防指强化值班,联合值守工作机制各单位加派工作力量,加强协调、督导事关全局的防汛抗旱调度,并与相关区域加强视频会商,及时作出针对性安排布置。县防指各成员及联络员保持通信畅通,相关成员单位派联络员到县防汛抗旱指挥中心值班,负责协调、处理、报告本单位相关工作。

6.舆论宣传。组织新闻媒体及时播报发布暴雨、洪水和指挥部公告等信息。视情组织协调新闻媒体赴灾区有序采访防汛抗旱救灾工作,并做好正面宣传报道,正向引导舆论。县防指收集舆情信息,适时召开新闻发布会,回应关切。

7.社会动员。动员社会各方面力量参与防汛救灾,引导群众开展自救互救工作。建议市民尽量减少外出,及时采取避险防范措施。在紧急情况下,按照《中华人民共和国防洪法》《中华人民共和国抗旱条例》等有关规定宣布进入紧急防汛期或紧急抗旱期,并行使相关权力、采取特殊措施,保障防汛抗旱工作顺利实施。

(3)响应终止

当灾害已经或趋于结束时,由县防办提出响应终止建议,县防指总指挥批准。响应结束后,有关部门和单位按职责分工,核实灾害损失和人员伤亡情况,并组织指导乡镇做好灾后恢复重建工作。

4.2.3  三级应急响应

(1)启动条件和程序

当达到或可能达到启动条件,县防指相关成员单位根据影响程度、范围和发展趋势,及时向县防办提出启动应急响应建议,县防办组织综合会商研判后提出意见,由县防指副指挥长批准后启动三级应急响应。

(2)响应行动

1.安排部署。县防指指挥长或副指挥长主持召开会商调度会,了解掌握汛情、险情、旱情、灾情及重要工情等信息,研判防汛抗旱形势,部署防汛抗旱救灾有关工作,督促指导采取转移避险、“关停限”等措施

2.组织指挥。县防指及时派出工作组、专家组赴一线督促指导防汛抗旱救灾工作。县防指指挥长或副指挥长坐镇县防汛抗旱指挥中心指挥。

3.专项工作组。视情启动部分专项工作组。县防指成员单位各司其职,全力开展抗灾救灾工作。

4.信息报送。县防指迅速将应急响应启动及防汛抗旱救灾等情况报告市防指、县委、县政府,并通报县防指各成员单位。县防指各成员单位及时向县防办报送本单位相关工作情况。

5.值班值守。县防指强化值班,联合值守工作机制各单位加派工作力量,加强协调、督导事关全局的防汛抗旱调度,并与相关区域加强视频会商,及时作出针对性安排布置。相关成员单位的联络员与县防汛抗旱指挥中心保持电话畅通。

6.舆论宣传。县防指根据需要及时发布相关信息,相关成员单位协调指导媒体做好防汛抗旱救灾工作报道,加强舆论引导工作。

(3)响应终止

当灾害已经或趋于结束时,由县防办提出响应终止建议,县防指副指挥长批准。响应结束后,有关部门和单位按职责分工,核实灾害损失和人员伤亡情况,并组织指导乡镇做好灾后恢复重建工作。

4.2.4  四级应急响应

(1)启动程序

当达到或可能达到启动条件,县防指相关成员单位根据影响程度、范围和发展趋势,及时向县防办提出启动应急响应建议,县防办组织综合会商研判后提出意见,由县防指副指挥长批准后启动四级应急响应。

(2)响应行动

1.安排部署。县防指副指挥长或县防办副主任主持召开会商调度会,了解掌握汛情、险情、旱情、灾情及重要工情等信息,研判防汛抗旱形势,部署防汛抗旱救灾有关工作,督促指导采取转移避险、“关停限”等措施。

2.组织指挥。县防指根据需要及时派出工作组、专家组赴一线督促指导防汛抗旱救灾工作,县防指成员单位按职责分工加强应对工作。县防指副指挥长或县防办副主任坐镇县防汛抗旱指挥中心指挥。

3.信息报送。县防指迅速将应急响应启动及防汛抗旱救灾等情况报告市防指、县委、县政府,并通报县防指各成员单位。县防指各成员单位及时向县防办报送本部门相关工作情况。

4.值班值守。县防指强化值班,联合值守工作机制各单位加派工作力量,加强协调、督导事关全局的防汛抗旱调度,并与相关区域加强视频会商,及时作出针对性安排布置。

5.舆论宣传。县防指根据需要及时发布相关信息,相关成员单位协调指导媒体做好防汛抗旱救灾工作报道,加强舆论引导工作。

(3)响应终止

当灾害已经或趋于结束时,由县防办提出响应终止建议,县防指副指挥长批准。响应结束后,有关部门和单位按职责分工,核实灾害损失和人员伤亡情况,并协助指导地方做好灾后恢复重建工作。

4.3  不同灾害的应急响应措施

4.3.1  河流洪水

(1)当河流水位超过警戒水位时,县防指应按照经批准的防洪预案和防汛责任制的要求,组织专业和群众防汛队伍巡堤查险,严密布防,必要时协调动用武警部队和民兵参加重要堤段、重点工程的防守或突击抢险。

(2)当河流水位继续上涨,危及重点保护对象时,各级防指和承担防汛任务的部门、单位,应根据河流水情和洪水预报,按照规定的权限和防御洪水方案、洪水调度方案,适时调度运用防洪工程,调节水库拦洪错峰,开启节制闸泄洪,启动泵站抢排,启用分洪河道,清除河道阻水障碍物、临时抢护加高堤防增加河道泄洪能力等。

(3)在紧急情况下,按照《中华人民共和国防洪法》有关规定,县防指可以宣布进入紧急防汛期,并行使相关权力、采取特殊措施。

4.3.2  渍涝灾害

渍涝灾害应急处置工作由县防指组织实施。县防指加强组织协调,督促指导县级有关部门做好排涝工作。

(1)城市内涝

1.县住房和城乡建设局、县交通运输局、县水利局等县级有关部门按任务分工全面排查城市易涝风险点,要突出抓好市政道路、地下空间、下沉式建筑、在建工程基坑等易涝积水点(区)隐患排查,并逐项整治消险。对主要易涝点要按照“一点一案”制定应急处置方案,明确责任人、队伍和物资,落实应急措施。

2.当出现城市内涝灾害时,县防指应根据应急预案,及时组织有关部门和力量转移安置危险区域人员;对低洼积水等危险区域、路段,县级有关部门要及时采取警戒、管控等措施,避免人员伤亡。要及时通过广播、电视、新媒体等对灾害信息进行滚动预警;情况危急时,停止有关生产和社会活动。

3.县住房和城乡建设局、县水利局等部门应加强协调和配合,科学调度防洪排涝工程、正确处理外洪内涝关系,确保防洪防涝安全。交通运输、电力、通信、燃气、供水等县级有关部门(单位)应保障城市生命线工程和其他重要基础设施安全,保证城市正常运行。

(2)当村庄和农田发生渍涝灾害时,县级有关部门要及时组织专业人员和设备抢排涝水,尽快恢复生产和生活,减少灾害损失。

4.3.3  山洪灾害

(1)山洪灾害日常防治和监测预警工作由县水利局负责,应急处置和抢险救灾工作由县应急管理局负责,具体工作由乡镇人民政府组织实施。县防指加强组织协调,指导县水利局、旺苍水文测报中心、县自然资源局、县应急管理局、县气象局等县级有关部门按任务分工做好相关工作。

(2)各级各有关部门要组织专业技术力量,充分发动干部群众,科学运用卫星影像图、国土调查、水旱灾害风险普查、河湖划界等成果,按照内业外业相结合的方式,以流域为单元,以沟道为线纲,以居民点为对象,集中开展山洪灾害隐患排查整治和风险研判工作。综合考虑岸坡及物源、河(沟)道淤积、阻水建筑、不利行洪河流地貌、是否在沟口、是否伴发地质灾害等因素,将山洪灾害危险区划分为“极高、高、中、低”4个风险等级,并结合实际情况不断调整完善。

(3)在划分风险等级基础上,各乡镇要逐处、逐点按山洪灾害防治要求落实责任体系,针对性完善监测预警、避险转移、预案演练、群测群防等非工程措施,强化山洪泥石流沟道工程治理,着力解决沟道冲刷淤积、跨沟建筑阻水壅水等问题。同时,加强房屋选址审批,坚决避免在沟口、低洼处建房,有条件的地方要搬迁避让,全力降低山洪灾害风险。

(4)当山洪灾害易发区观测到降雨量达到预警阈值时,水利等有关部门应及时发出预警,乡镇人民政府及时组织受威胁人员安全撤离。预警撤离必须刚性落实以下要求:

1.极高风险区:蓝色及以上山洪灾害风险预警、暴雨预警或短临预警信号必须撤离;超预警指标必须撤离(预警指标原则上不超过2年一遇降水);巡查发现灾害征兆或情况不能准确判断时必须撤离。

2.高风险区:黄色及以上山洪灾害风险预警、暴雨预警或短临预警信号必须撤离;超预警指标必须撤离(预警指标原则上不超过5年一遇降水);巡查发现灾害征兆或情况不能准确判断时必须撤离。

3.中风险区:橙色及以上山洪灾害风险预警、暴雨预警或短临预警信号必须撤离;超预警指标必须撤离(预警指标原则上不超过10年一遇降水);巡查发现灾害征兆或情况不能准确判断时必须撤离。

4.低风险区:红色及以上山洪灾害风险预警、暴雨预警或短临预警信号必须撤离;超预警指标必须撤离(预警指标原则上不超过20年一遇降水);巡查发现灾害征兆或情况不能准确判断时必须撤离。

5.如果出现较大地震影响、近期累积降雨较多、河道明显淤积或其他可能增加山洪灾害风险的情况,要实行提级管理,按照高一等级风险区的预警撤离要求组织转移。沟口、沟边在建工地营地等临时生产、生活区域参照管理。

(5)要区别提前转移(在灾害来临前提前组织受威胁群众转移避险)和临灾避险(灾害突然来袭时的转移避险),制定不同的转移避险方案,落实每户每人的转移路线和安置地点,明确老弱病残幼等行动不便或精神不正常人群的帮扶转移措施,并做好已转移人员安全管理。

(6)当发生山洪灾害时,县防指应组织县水利局、旺苍水文测报中心、县自然资源局、县应急管理局、县气象局等县级有关部门的专家和技术人员,及时赶赴现场,加强观测,采取应急措施,防止造成更大损失。

(7)若发生山洪灾害导致人员伤亡、失联、被困,应立即组织国家综合性消防救援队伍、民兵、抢险突击队紧急抢救,必要时向当地武警部队及上级人民政府请求救援。

(8)如山洪、泥石流、滑坡体堵塞河道,县防指应召集有关部门、专家研究处理方案,尽快采取应急措施,避免发生更大的灾害。

4.3.4  堤防决口、水闸垮塌、水库(水电站)垮坝

(1)当出现堤防决口、水闸垮塌、水库(水电站)垮坝征兆时,防汛责任单位要迅速调集人力、物力全力组织抢险,尽可能控制险情,第一时间向预计淹没区域的有关乡镇人民政府和基层组织发出警报,并及时向县防指和上级主管部门报告。

(2)堤防决口、水闸垮塌、水库(水电站)垮坝的应急处理,由县防指负责,水利部门提供技术支撑。首先应迅速组织受影响群众转移,并视情况抢筑二道防线,控制洪水影响范围,尽可能减少灾害损失。必要时,向上级防指提出援助请求。

(3)县防指视情况在适当时机组织实施堤防堵口,按照权限调度有关水利工程,为实施堤防堵口创造条件,并应明确堵口、抢护的行政、技术责任人,启动堵口、抢护应急预案,及时调集人力、物力迅速实施堵口、抢护。上级防指负责同志应立即带领专家赶赴现场指导。

4.3.5  干旱灾害

(1)特大干旱

1.强化行政首长抗旱责任制,确保城乡居民生活和重点企业用水安全,维护灾区社会稳定。

2.县防指强化抗旱工作的统一指挥和组织协调,加强会商研判和统筹调度。县水利局强化抗旱水源的科学调度和用水管理。县防指各成员单位按照县防指的统一指挥部署,协调联动,全面做好抗旱工作。

3.必要时经县政府批准,县防指可按程序依法宣布进入紧急抗旱期,启动各项特殊应急抗旱措施,如应急开源、应急限水、应急调水、应急送水,条件许可时及时开展人工增雨等。

4.县水利局、县农业农村局等有关部门要及时向县防指报告旱情、灾情及抗旱工作,并通报县应急管理局;县防指要加强会商研判,密切跟踪旱情、灾情发展变化趋势及抗旱工作情况,及时分析旱情、灾情对经济社会发展的影响,适时向社会通报旱灾信息。

5.县防指及时动员社会各方面力量支援抗旱救灾工作。

6.县级有关部门加强旱情灾情及抗旱工作的宣传力度。

(2)严重干旱

1.县气象局、县水利局、县农业农村局等部门加强旱情监测和分析预报工作,及时向县防指报告旱情灾情及其发展变化趋势,及时通报旱情信息和抗旱情况。

2.县防指及时组织抗旱会商,研究部署抗旱减灾工作。

3.县防指督促县防指各成员单位落实抗旱职责,做好抗旱水源的统一管理和调度,落实应急抗旱资金和抗旱物资。

4.县级有关部门做好抗旱工作的宣传。

(3)中度干旱

1.县气象局、县水利局、县农业农村局等部门要加强旱情监测,密切注视旱情的发展情况,及时向县防指挥报告旱情信息和抗旱情况。

2.县防指要加强会商,分析研判旱情发展变化趋势,及时分析预测水量供求变化形势。

3.县防指及时上报、通报旱情信息和抗旱情况。

4.县防指关注水量供求变化,组织做好抗旱调度。

5.县防指根据旱情发展趋势,动员部署抗旱减灾工作。

(4)轻度干旱

1.县气象局、县水利局、县农业农村局及时做好旱情监测、预报工作。

2.县防指及时掌握旱情变化情况,分析了解社会各方面的用水需求。

3.县防指协调县水利局等县级有关部门做好抗旱水源的管理调度工作。

4.3.6  供水危机

(1)当发生供水危机时,县防指应指导和督促县级有关部门采取有效措施,做好应急供水工作,最大程度保证城乡居民生活和重点单位用水安全。

(2)针对供水危机出现的原因,组织县级有关部门采取措施尽快恢复供水水源,保障供水量和水质正常。

4.4   信息报送和发布

4.4.1  报送

防汛抗旱信息的报送和处理由县防指统一负责,应及时快捷、真实全面。汛情、旱情、工情、险情、灾情等相关信息实行分级上报、归口处理、同级共享,并加强数据核对。遇突发险情、灾情,按照《四川省洪涝突发险情灾情报告暂行规定》要求,各级防指要及时掌握,做好首报和续报工作,原则上应以书面形式逐级上报,当发生突发重大险情灾情的紧急情况下,可在向上一级防指报送的同时越一级报告。

接到汛情、旱情、险情、灾情等水旱灾害突发事件信息后,各级防指要立即如实向同级人民政府及上级防指报告,最迟不得超过1小时,不得迟报、谎报、瞒报和漏报,同时通报可能受影响的地区、部门(单位)和企业等。洪涝灾害人员伤亡、重大险情及影响范围、处置措施等关键信息,必须严格按照相关规定和灾害统计报告制度报送。

发生突发重大险情灾情时,所在地防指应在接报险情灾情30分钟内以电话或其他方式报告,并以书面形式及时补报。河流干流重要堤防、涵闸等及重点水库、山坪塘发生的重大险情,应在险情发生后立即报告县防办。

县防办接到重大汛情、旱情、险情、突发灾情报告后,应在30分钟内以电话或其他方式报告市防指、市委、市政府和县委、县政府,并做好续报。

4.4.2  发布

按照属地为主、分级负责、归口发布的方式做好信息发布工作。县防指统一负责信息发布工作,及时准确、客观全面发布权威信息。重要信息发布前,需征求县委宣传部意见。县委宣传部根据实际情况对发布时机、发布方式等提出建议,对发布材料、问答口径等进行指导,并组织新闻媒体采访报道,做好媒体服务管理工作。

县委、县政府的重大决策部署,全县性或重大的汛情、旱情及防汛抗旱动态等,由县防指统一审核和发布。在县级以上媒体公开报道的稿件,县水利局、县应急管理局按照职责分工分别审核相关内容。涉及人员伤亡、经济损失等水旱灾害损失的,由县水利局、县应急管理局会同县级有关部门共同审核,县委宣传部加强指导。

4.5  舆论引导

加强舆论引导,深入报道县委县政府决策部署和抢险救灾工作进展,大力宣传先进模范和典型事迹,营造全社会关心、重视、支持、参与防汛抗旱工作的良好氛围。

5  应急保障

各级防指要从人员、物资、技术等方面着力提高应对水旱灾害的应急保障能力。

5.1  通信与信息保障

县经济信息化和科学技术局要负责组织、协调、督促和指导各基础通信运营企业,保障防汛抗旱指挥部门和气象、水利、应急等重要机构的通信网络畅通,利用公用通信网发布应急预警短信。

在紧急情况下,应充分利用公共广播、电视等新媒体和各种通讯方式及人民防空警报系统发布预警信息,通知群众快速撤离,保护人民生命财产安全。

5.2  应急装备保障

各级防指应储备满足抢险所需的常规抢险机械、抗旱设备、物资和救生器材。

5.3  应急抢险队伍保障

任何单位和个人都有依法参加防汛抗洪的义务。县防指组建专业防汛抗旱抢险队伍,组建水旱灾害防御、抢险救援专家库,统筹组织社会力量积极参与救援工作。

需要驻旺武警部队和县消防救援大队参与防汛抗旱抢险时,县政府及县防指要及时商请相关部门按《军队参加抢险救灾条例》及有关规定组织实施。其中,县防指负责联系县人武部、武警旺苍中队、县消防救援大队参与防汛抗旱抢险。

5.4  供电保障

国网旺苍县供电公司负责抗洪抢险、抢排渍涝、抗旱救灾等方面的供电需要和应急救援现场的临时供电保障。

5.5  交通运输保障

县公安局、县交通运输局以及成铁广元车务段旺苍车站按照职责分工,强化重大生命线工程安全保障,制定相应的应急预案,优先保证防汛抢险人员和防汛抗旱物资的运输,适时实行交通管制,密切配合做好交通运输保障工作。

5.6  医疗卫生保障

县卫生健康局负责组织开展水旱灾区卫生防疫和医疗救治工作。

5.7  治安保障

县公安局、武警旺苍中队主要负责做好水旱灾区的治安管理工作,依法严厉打击破坏防汛抗旱救灾行动和工程设施安全的行为,全力保障抗灾救灾工作安全顺利进行;负责组织做好防汛抢险、分洪爆破的戒严、安全保卫工作,维护灾区的社会治安秩序。

5.8  物资保障

防汛抗旱物资管理坚持“定额储备、专业管理、保障急需”原则。防汛抗旱物资仓库在汛期和干旱期应随时做好物资调运的各项准备工作,按调令保证防汛抗旱物资快速、安全地运达指定地点。

当储备物资消耗过多,不能满足抗洪抢险和抗旱救灾需要时,县防指应联系有资质的厂家紧急生产、调运所需物资,必要时可向社会公开征集。

5.9  资金保障

根据《中华人民共和国防洪法》《中华人民共和国抗旱条例》有关规定,建立完善与经济社会发展水平以及防汛抗旱要求相适应的资金投入机制,在县财政部门预算中安排必要资金,保障防汛抗旱投入。

县人民政府应当将防灾避险人员安全转移相关费用列入本级预算。企业应当按照规定在成本(费用)中列支安全生产费用,并将防灾避险人员安全转移经费纳入安全生产费用使用范围并规范管理。

5.10  技术保障

县防指在防汛抗旱应急工作中要应用先进的工程抢险技术和现代化的信息技术,逐步建立完善防汛抗旱指挥系统和专家库系统,加强防汛抗旱基础性研究,提高防汛抗旱技术能力和水平。

要强化科技支撑,加大政策引领和资金投入,支持科学理论研究和先进适用装备的研发、应用和配备,加强科技信息化运用,提升防汛抗旱日常防范应对工作效率,降低防汛抗旱工作成本,全面提高防汛抗旱日常防范应对工作的科学化、专业化、智能化水平。

6  后期处置

6.1 物资补充和工程修复

针对当年产生的防汛抗旱抢险物资消耗,县防指应积极筹措,及时补充防汛抗旱抢险物资。

对影响当年防汛安全和城乡安全的水毁工程,应组织突击施工,尽快修复。

遭到毁坏的交通、电力、通信、水文以及防汛专用通信等基础设施,县级有关部门(单位)应按照职责,尽快组织修复,确保及时投入正常使用。

6.2  调查评估

县防指应组织对造成较大损失或典型性的水旱灾害事件进行调查评估,复盘分析防范应对处置工作,总结经验教训,制定改进措施。必要时,县防指直接开展调查评估。

县防指应实行防汛抗旱工作年度评估制度,着重对各个方面和环节进行定性定量总结、分析、评估,总结经验,查找不足,分析原因,提出改进完善建议,以进一步做好防汛抗旱工作。

6.3  奖励

对在防汛抗旱工作中贡献突出的单位和个人,对成功转移避险案例的一线责任人、推进防汛减灾安全工作作出显著成绩和重要贡献的,按照有关规定给予表彰(扬)和奖励。

6.4  约谈整改

对于防汛抗旱工作不力的乡镇或部门(单位),县防指及时予以提醒,必要时约谈有关乡镇和部门(单位)主要负责同志,并督促整改到位。

6.5  责任追究

对防汛抗旱工作中责任不落实、发现隐患不作为、处置不得力、敷衍塞责等失职渎职行为,依据有关法律法规纪律严肃追究部门监管责任、管理主体责任,严肃追究领导责任和监管责任。因玩忽职守造成损失的,依据有关法律法规纪律,严肃追究当事人的责任,并依法予以处理。

7  附则

7.1  预案演练

各级防指及有关部门(单位)应制定应急演练计划,根据实际情况采取实战演练、桌面推演等方式,每年至少组织1次各方人员广泛参与、处置联动性强、形式多样、安全高效的应急演练,主要负责人应视情参加。

7.2  预案管理与更新

预案实施后,县防指会同有关部门组织预案学习、宣传和培训。

县防汛抗旱应急预案由指挥长每年组织修订,迭代完善,并根据实际情况及时修订,经县委、县政府审批,以本级人民政府办公室或者有关应急指挥机构名义印发,抄送市人民政府有关主管部门备案。有防汛抗旱任务的乡镇、村(社区)应急预案应当经本级主要负责人签发,报上一级防指(政府)备案。县级部门防汛抗旱应急预案经部门主要负责同志批准后印发实施,报县防指备案。

各级各有关部门(单位)要强化防汛抗旱应急预案衔接,按照“下级预案服从上级预案,专项、部门预案服从总体预案,预案之间不得相互矛盾”的原则做好预案编修工作。

7.3  名词术语定义

主要河流:东河、清江河、恩阳河、盐井河、寨坝河、罗平河等。

三个避让:主动避让、提前避让、预防避让。

三个紧急撤离:危险隐患点发生强降雨时要紧急撤离;接到暴雨蓝色及以上预警或预警信号要立即组织高风险区域群众紧急撤离;出现险情征兆或对险情不能准确研判时要紧急撤离。

三单一书:领导干部责任清单、部门职责清单、隐患风险清单和一项承诺书。

两书一函:约谈通知书、整改通知书和提醒敦促函。

四不两直:不发通知、不打招呼、不听汇报、不用陪同接待,直奔基层、直插现场。

五有三防:五有是确保受灾群众有饭吃、有干净水喝、有衣穿、有棉被、有临时住处。三防是继续做好卫生防疫、消防隐患排查、次生地质灾害防治等有关工作,进一步提高安置点防疫、防火、防治次生地质灾害的能力和水平。

洪水风险图:是融合地理、社会经济、洪水特征信息,通过资料调查、洪水计算和成果整理,以地图形式直观反映某一地区发生洪水后可能淹没的范围和水深,用以分析和预评估不同量级洪水可能造成的风险和危害的工具。

干旱风险图:是融合地理、社会经济、水资源特征信息,通过资料调查、水资源计算和成果整理,以地图形式直观反映某一地区发生干旱后可能影响的范围,用以分析和预评估不同干旱等级造成的风险和危害的工具。

防御洪水方案:是对有防汛抗洪任务的县级以上地方人民政府根据流域综合规划、防洪工程实际状况和国家规定的防洪标准,制定的防御江河洪水(包括特大洪水)、山洪灾害(指由降雨引发的山洪、泥石流灾害)、台风风暴潮灾害等方案的统称。

紧急防汛期:根据《中华人民共和国防洪法》规定,当江河、湖泊的水情接近保证水位或者安全流量,水库水位接近设计洪水位,或者防洪工程设施发生重大险情时,有关县级以上人民政府防汛指挥机构可以宣布进入紧急防汛期。在紧急防汛期,国家防汛指挥机构或者其授权的流域、省、自治区、直辖市防汛指挥机构有权对壅水、阻水严重的桥梁、引道、码头和其他跨河工程设施作出紧急处置。防汛指挥机构根据防汛抗洪的需要,有权在其管辖范围内调用物资、设备、交通运输工具和人力,决定采取取土占地、砍伐林木、清除阻水障碍物和其他必要的紧急措施;必要时,公安、交通等有关部门按照防汛指挥机构的决定,依法实施陆地和水面交通管制。

7.4  预案解释

本预案由县防办负责解释。

7.5  实施时间

本预案自印发之日起实施,《旺苍县防汛抗旱指挥部关于印发<旺苍县防汛抗旱应急预案(2024年修订)>的通知》(旺汛指发〔2024〕30号)同时废止。


附件:1.旺苍县防汛抗旱组织指挥体系图

         2.旺苍县防汛抗旱指挥部领导职责清单

         3.旺苍县防汛抗旱指挥部专项工作组构成及职责

         4.旺苍县防汛抗旱应急响应流程图

         5.市县干旱灾害分级标准

         6.旺苍县防汛抗旱应急响应启动条件汇总表


附件1

旺苍县防汛抗旱组织指挥体系图


附件2

旺苍县防汛抗旱指挥部领导职责清单

序号

职务

主要职责

1

指挥长

(县委分工负责水利工作的常委)

1.组织、指挥、协调全县防汛抗旱工作。

2.负责报请县防灾减灾救灾委员会启动一级防汛抗旱应急响应。

3.负责批准启动二级防汛抗旱应急响应,协调指导各乡镇开展水旱灾害应急处置工作。

4.监督检查各有关部门(单位)贯彻执行国家、省防指,市委、市政府和县委、县政府关于防汛抗旱工作的决策部署以及其他重大事项的落实情况。

2

指挥长

(县政府负责水利工作的副县长)

1.协助总指挥指挥、组织、协调全县防汛抗旱工作,指导各乡镇、部门开展水旱灾害的预防工作。

2.负责报请县防灾减灾救灾委员会启动一级防汛抗旱应急响应。

3.负责批准启动二级防汛抗旱应急响应,协调指导各乡镇开展水旱灾害应急处置工作。

4.监督检查各有关部门(单位)贯彻执行国家、省防指、市委、市政府和县委、县政府关于防汛抗旱工作的决策部署以及其他重大事项的落实情况。

5.负责市防指日常工作。

3

副指挥长

(县人武部部长)

1.协助指挥长落实防汛抗旱各项决策部署和工作要求。

2.负责组织指挥所属部队和民兵、协调武警旺苍中队开展抗洪抢险、营救群众等防汛抗旱行动。

3.完成指挥长安排的其他任务。

4

副指挥长

(县委、县政府主任)

1.协助指挥长落实防汛抗旱各项决策部署和工作要求。

2.负责指导、协调县防指成员单位协同联动,督促推动工作落实。

3.完成指挥长安排的其他任务。

5

副指挥长

(县水利局局长)

1.协助指挥长落实防汛抗旱各项决策部署和工作要求,负责县防办日常工作。统筹负责“防”和“治”相关工作,做好防御洪水应急抢险的技术支撑和保障工作。

2.负责批准启动三级、四级防汛抗旱应急响应。

3.负责统筹未启动防汛抗旱应急响应时和启动三级、四级防汛抗旱应急响应后的全县水旱灾害应对处置工作。

4.完成指挥长安排的其他任务。

6

副指挥长

(县应急管理局局长)

1.协助指挥长落实防汛抗旱各项决策部署和工作要求,负责县防办日常工作。统筹负责“救”的相关工作,协同做好“防”和“治”相关工作。

2.负责统筹启动一级、二级防汛抗旱应急响应后的全县水旱灾害应对处置工作。

3.完成指挥长安排的其他任务。


附件3

旺苍县防汛抗旱指挥部专项工作组构成及职责

分工分组

综合协调组

抢险救援组

技术保障组

通信电力保障组

交通保障组

牵头单位

县水利局、县应急管理局

县应急管理局

县水利局

县经济信息化和科学技术局、县发展和改革局、国网旺苍县供电公司

县交通运输局

成员单位

县发展和改革局、县公安局、县自然资源局、县交通运输局、县国有资产事务中心等相关单位。

县人武部、县公安局、县发展和改革局、县自然资源局、县住房和城乡建设局、县水利局、县国防动员事务中心、县红十字会、县消防救援大队、武警旺苍中队等相关单位。

县自然资源局、县住房和城乡建设局、县交通运输局、县气象局、旺苍水文测报中心等相关单位。

县发展和改革局、电信旺苍分公司、移动旺苍分公司、联通旺苍分公司、铁塔旺苍分公司等相关单位。

县公安局、县公安交警大队、成铁广元车务段旺苍车站等相关单位。

工作职责

传达贯彻党中央、国务院、国家防总、省委省政府、省防指、市委市政府决策部署,传达执行市防指、县委县政府安排要求,做好防汛抗旱综合协调工作。汇总报送险灾情动态和应急工作进展情况等。完成县防指交办的其他任务。

负责组织指导救援救助受灾群众,统筹各相关力量实施抢险救援救灾工作。完成县防指交办的其他任务。

负责做好气象、水文、地质、测绘等信息保障。负责做好道路桥梁和城市内涝、房屋技术保障。密切监视汛情、险情、灾情及次生衍生灾害发展态势,及时组织会商研判,为应急救援提供技术保障。完成县防指交办的其他任务。

负责应急通信、电力等保障工作;组织抢修供电、通信等设施。完成县防指交办的其他任务。

负责做好道路运输保障。实施必要的交通疏导和管制,维护交通秩序;协调组织优先运送伤员和抢险救援救灾人员、物资、设备。完成县防指交办的其他任务。


  分工分组

群众安置和灾情评估组

医疗救治组

社会治安组

宣传报道组

其他工作组

牵头单位

县应急管理局

县卫生健康局

县公安局

县委宣传部

牵头单位、成员单位和工作职责等根据需要调整设置。

成员单位

县教育局、县公安局、县民政局、县财政局、县自然资源局、县住房和城乡建设局、县交通运输局、县水利局、县农业农村局、县商务和经济合作局、县文化广播电视体育和旅游局、广元市旺苍生态环境局、县红十字会等相关单位。

县经济信息化和科学技术局、县红十字会、县疾病预防控制局等相关单位。

武警旺苍中队等相关单位。

县水利局、县文化广播电视体育和旅游局、县应急管理局、县融媒体中心等相关单位。

工作职责

负责指导受灾群众(游客)转移安置和基本生活保障。对安置场所进行灾害风险评估;及时组织调拨救灾款物,视情开展救灾捐赠;做好受灾人员家属抚慰和因灾遇难人员遗体处置工作。负责水旱灾害事件灾情统计、核查和灾害损失评估、灾害调查评估,为因灾死亡失踪 (联)人口核查核定工作提供技术支持,配合开展调查走访、舆情监测、数据分析。完成县防指交办的其他任务。

负责医疗救(援)治和卫生防疫工作。加强医疗物资的组织调度,做好救援人员的医疗保障工作;做好洪灾及次生衍生灾害发生后疾病预防控制和卫生监督工作。完成县防指交办的其他任务。

负责灾区社会治安维稳工作。预防和打击各类犯罪活动,预防和处置群体事件;做好灾区重要目标安全保卫工作。完成县防指交办的其他任务。

统筹新闻报道工作。指导做好现场发布会和新闻媒体服务管理;组织开展舆情监测研判,加强舆论管控和处置。完成县防指交办的其他任务。



附件4

旺苍县防汛抗旱应急响应流程图


附件5

市县干旱灾害分级标准
      干旱灾害按灾情程度分为特别重大、严重、中度和轻度灾害四级。符合下列条件之一的,确定为相应级别的干旱灾害。

干旱

类型

时段

地区

特别重大

严重

中度

轻度

作物受旱面积(I)

因旱饮水困难人数(N)

比例(X)

作物受旱面积(I)

因旱饮水困难人数(N)

比例(X)

作物受旱面积(I)

因旱饮水困难人数(N)

比例(X)

作物受旱面积(I)

因旱饮水困难人数(N)

比例(X)

冬干

11月21日—2月28日

广元市



旺苍县

I>100





I>9

X≥15%





X≥15%

80<I≤110





4.5<I≤9

10%≤X<15%





10%≤X<15%

50<I≤80





1.8<I≤4.5

5%≤X<10%





5%≤X<10%

30<I≤50





0.36<I≤1.8

3%≤X<5%





3%≤X<5%

春旱

3月1日—5月5日

夏旱

4月26日—7月5日

伏旱

6月26日—9月10日

城市

干旱


广元市

连续15天城市供水保障率≤75%

75%<连续15天城市供水保障率≤85%

85%<连续15天城市供水

保障率≤90%

90%<连续15天城市供水

保障率≤95%

旺苍县

连续15天供水

保障率≤75%

75%<连续15天供水

保障率≤85%

85%<连续15天供水

保障率≤90%

90%<连续15天供水

保障率≤95%

说明:1.作物受旱面积:指在田作物受旱面积。受旱期间能保证灌溉的面积,不列入统计范围。

         2.因旱饮水困难人数:指由于干旱导致基本生活用水量低于35升/(人·天),且持续15天以上的人口数。

         3.因旱饮水困难人数比例:指因旱饮水困难人数占全县总人口比例。


附件6

旺苍县防汛抗旱应急响应分级启动条件汇总表

响应启动条件分类 

应急响应分级

一级响应(总指挥批准)

二级响应(总指挥批准)

三级响应(指挥长批准)

四级响应(常务副指挥长批准)

暴雨预警

县气象台连续2天发布红色预警。

县气象台发布红色预警或连续2天发布橙色预警。

县气象台发布橙色预警或连续2天发布黄色预警。

县气象台发布黄色预警或连续2天发布蓝色预警。

河流洪水重现期

县城区洪峰或洪量重现期大于100年一遇;东河、清江河、恩阳河、白水河、盐井河等主要河流干流中的一条河流发生洪峰或洪水流量重现期大于100年一遇的洪水。

县城区洪峰或洪量重现期大于50年(含)一遇、小于100年一遇;2个及以上乡镇洪峰或洪量重现期大于100年(含)一遇。

县城区洪峰或洪量重现期大于20年(含)一遇、小于50年一遇;2个及以上乡镇洪峰或洪量重现期大于50年(含)一遇、小于100年一遇。

2个及以上乡镇洪峰或洪量重现期大于20年一遇、小于50年一遇。

险情

城市内涝

县主城区或2个以上其他乡镇场镇积水深度大范围在1米以上,城区大面积停电停水停气、交通中断或瘫痪,城区运行受到严重影响。

县主城区或2个以上乡镇场镇积水深度部分在1米以上,城区较大面积停电停水停气、交通中断或瘫痪,城区运行受到较严重影响。

县主城区或2个以上乡镇场镇积水深度大范围在0.5米以上、1米以下,城区部分区域停电停水停气、交通中断或瘫痪,城区运行受到较大影响。

县主城区或2个以上乡镇场镇积水深度大范围在0.3米以上、0.5米以下,城区个别重点点位停电停水停气、交通中断或瘫痪,城区运行受到影响。

水库

小(1)型水库、东河电站、福鑫电站垮坝。

重点小(2)型水库垮坝。

一般小(2)型水库垮坝。

重点山坪塘垮坝。

堰塞湖

出现按《堰塞湖风险等级划分与应急处置技术规范》(SL/T450—2021)划分的I级风险堰塞湖。

出现按《堰塞湖风险等级划分与应急处置技术规范》(SL/T450—2021)划分的Ⅱ级风险堰塞湖。

出现按《堰塞湖风险等级划分与应急处置技术规范》(SL/T450—2021)划分的Ⅲ级风险堰塞湖。

出现按《堰塞湖风险等级划分与应急处置技术规范》(SL/T450—2021)划分的Ⅳ级风险堰塞湖。

堤防

发生对县中心城区造成特别严重影响的堤防溃决险情。

发生对县中心城区造成严重影响的堤防溃决险情。

发生对重点场镇、重要设施、交通干线造成严重影响的堤防溃决险情。

发生对一般场镇、设施、交通造成严重影响的堤防溃决险情。

干旱

发生特别重大干旱灾害。

发生严重干旱灾害。

发生中度干旱灾害。

发生轻度干旱灾害。

其他

其他需要启动一级应急响应的情况。

其他需要启动二级应急响应的情况。

其他需要启动三级应急响应的情况。

其他需要启动四级应急响应的情况。

注:当出现或可能出现以上条件之一,对影响程度、范围和发展趋势经综合会商研判后,启动相应级别应急响应。